Официальное опубликование правовых актов
ОФИЦИАЛЬНОЕ ОПУБЛИКОВАНИЕ
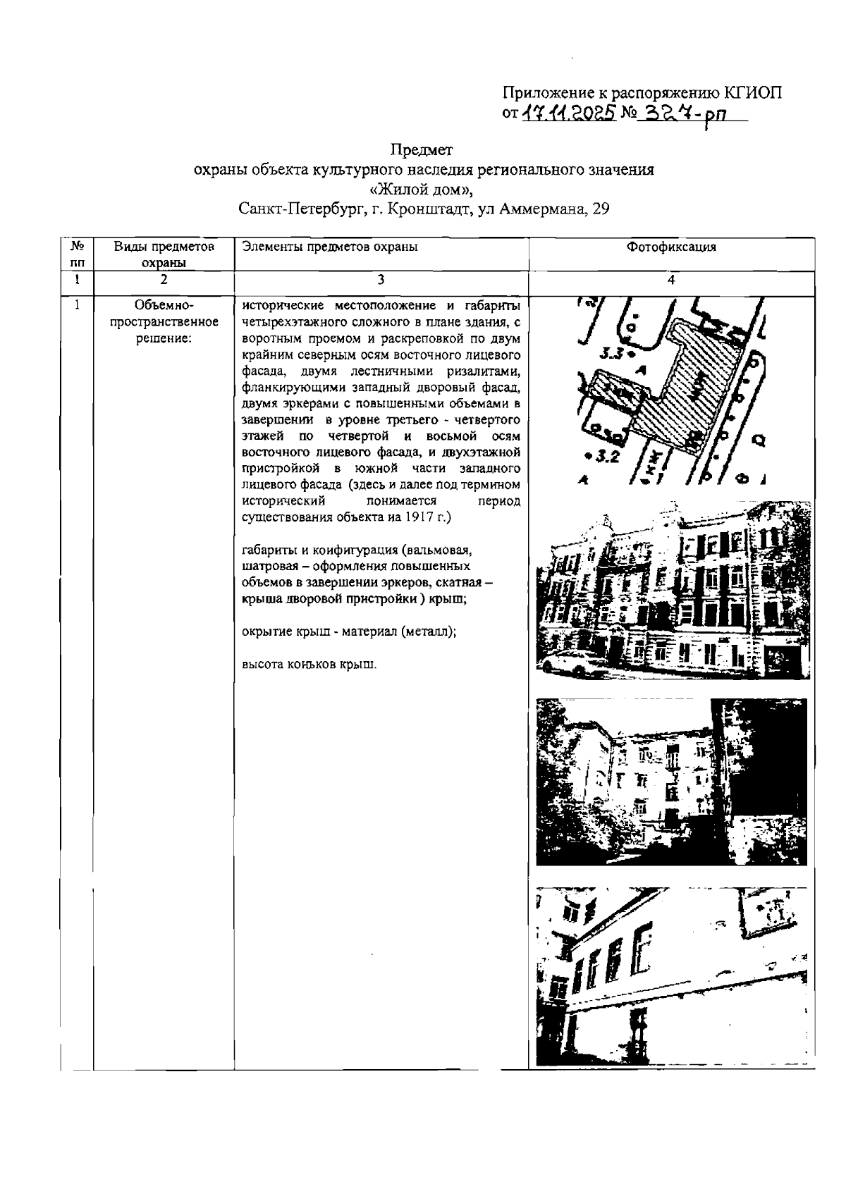
Распоряжение Комитета по государственному контролю, использованию и охране памятников истории и культуры от 17.11.2025 № 327-рп
"Об утверждении предмета охраны объекта культурного наследия регионального значения "Жилой дом"
(Зарегистрирован 17.11.2025 № 51254)
Номер опубликования: 7801202511210010
Дата опубликования: 21.11.2025
Страница №2 из 12:
Увеличить