Официальное опубликование правовых актов
ОФИЦИАЛЬНОЕ ОПУБЛИКОВАНИЕ
Распоряжение Комитета по государственному контролю, использованию и охране памятников истории и культуры от 11.11.2025 № 321-рп
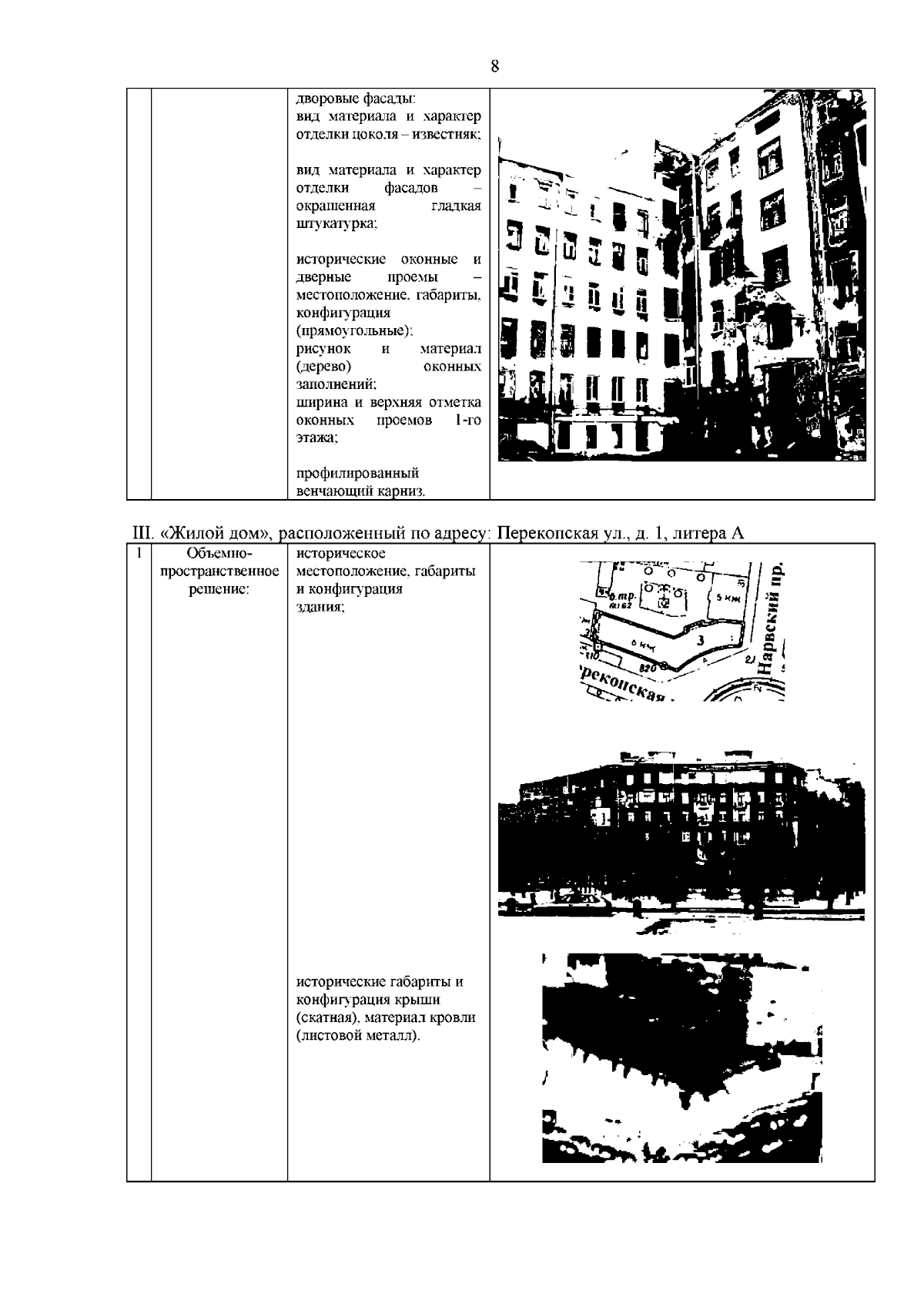
"Об утверждении предмета охраны выявленного объекта культурного наследия "Ансамбль жилых домов площади Стачек (3 здания)"
(Зарегистрирован 12.11.2025 № 51224)
Номер опубликования: 7801202511140019
Дата опубликования: 14.11.2025
Страница №9 из 11:
Увеличить