Официальное опубликование правовых актов
ОФИЦИАЛЬНОЕ ОПУБЛИКОВАНИЕ
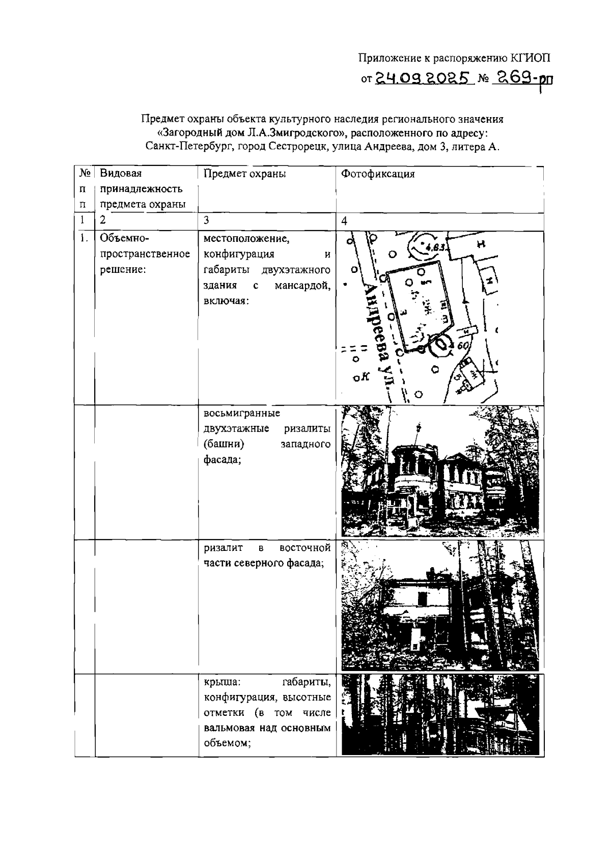
Распоряжение Комитета по государственному контролю, использованию и охране памятников истории и культуры от 24.09.2025 № 269-рп
"Об утверждении предмета охраны объекта культурного наследия регионального значения "Загородный дом Л.А.Змигродского"
(Зарегистрирован 24.09.2025 № 50977)
Номер опубликования: 7801202509290001
Дата опубликования: 29.09.2025
Страница №2 из 14:
Увеличить