Распоряжение Комитета по государственному контролю, использованию и охране памятников истории и культуры от 17.09.2025 № 256-рп
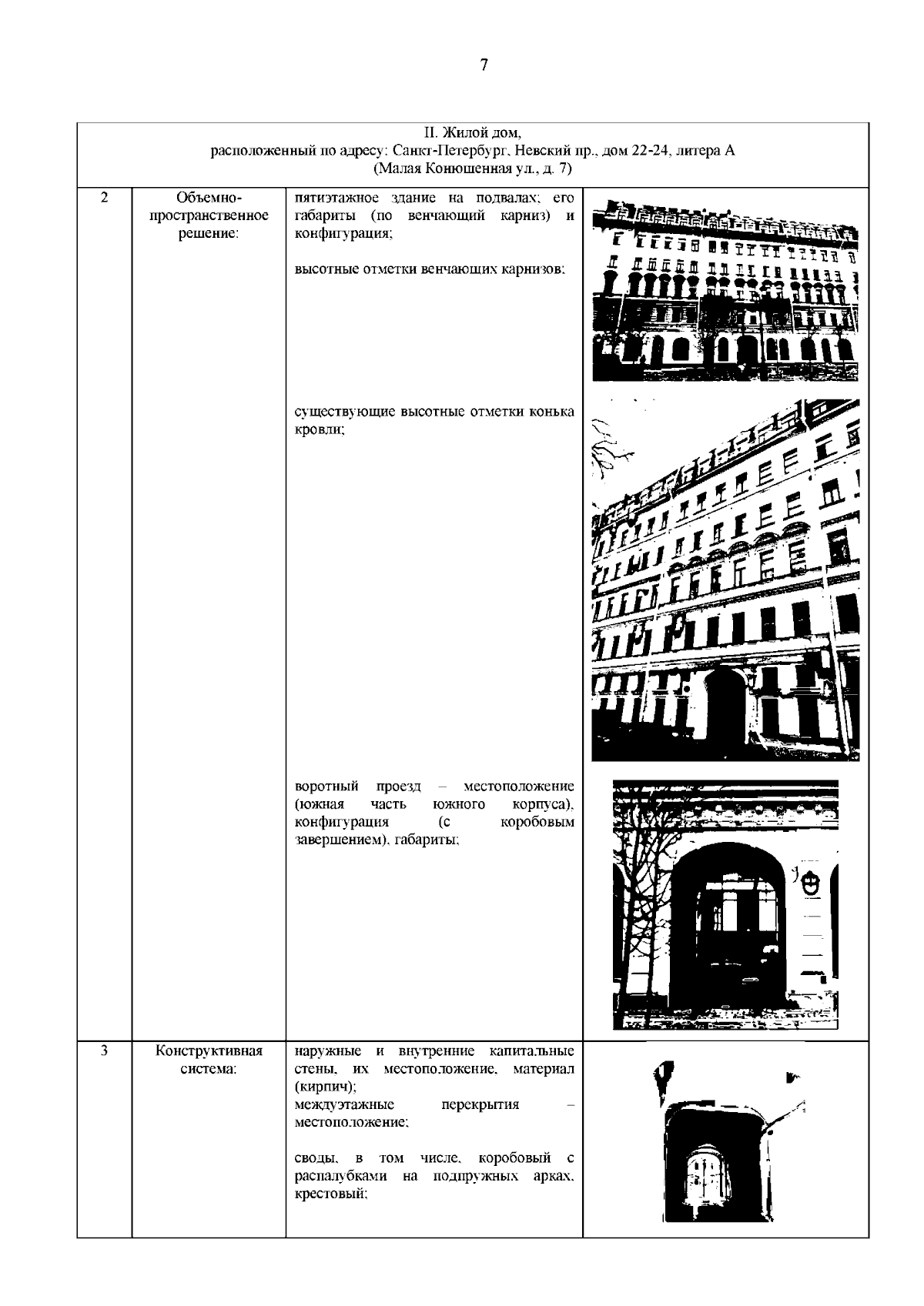
"О включении выявленного объекта культурного наследия в единый государственный реестр объектов культурного наследия (памятников истории и культуры) народов Российской Федерации в качестве объекта культурного наследия регионального значения "Дома Немецкой лютеранской церкви св. Петра", об утверждении границ и режима использования территории объекта культурного наследия, об утверждении предмета охраны объекта культурного наследия"
(Зарегистрирован 18.09.2025 № 50951)
"О включении выявленного объекта культурного наследия в единый государственный реестр объектов культурного наследия (памятников истории и культуры) народов Российской Федерации в качестве объекта культурного наследия регионального значения "Дома Немецкой лютеранской церкви св. Петра", об утверждении границ и режима использования территории объекта культурного наследия, об утверждении предмета охраны объекта культурного наследия"
(Зарегистрирован 18.09.2025 № 50951)
Номер опубликования: 7801202509230005
Дата опубликования:
23.09.2025
