Официальное опубликование правовых актов
ОФИЦИАЛЬНОЕ ОПУБЛИКОВАНИЕ
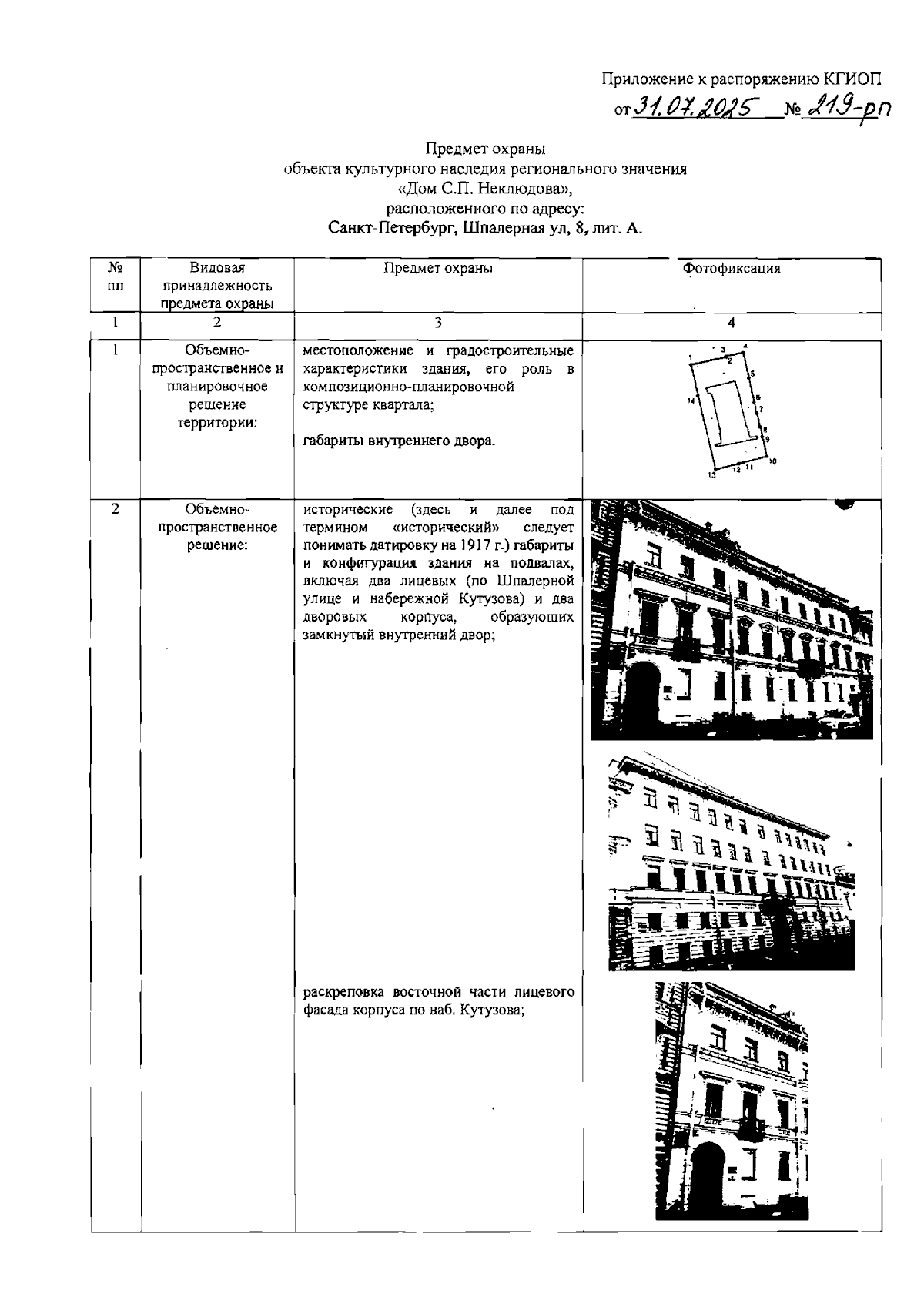
Распоряжение Комитета по государственному контролю, использованию и охране памятников истории и культуры от 31.07.2025 № 219-рп
"Об утверждении предмета охраны объекта культурного наследия регионального значения "Дом С.П. Неклюдова"
(Зарегистрирован 01.08.2025 № 50762)
Номер опубликования: 7801202508040011
Дата опубликования: 04.08.2025
Страница №2 из 28:
Увеличить