Официальное опубликование правовых актов
ОФИЦИАЛЬНОЕ ОПУБЛИКОВАНИЕ
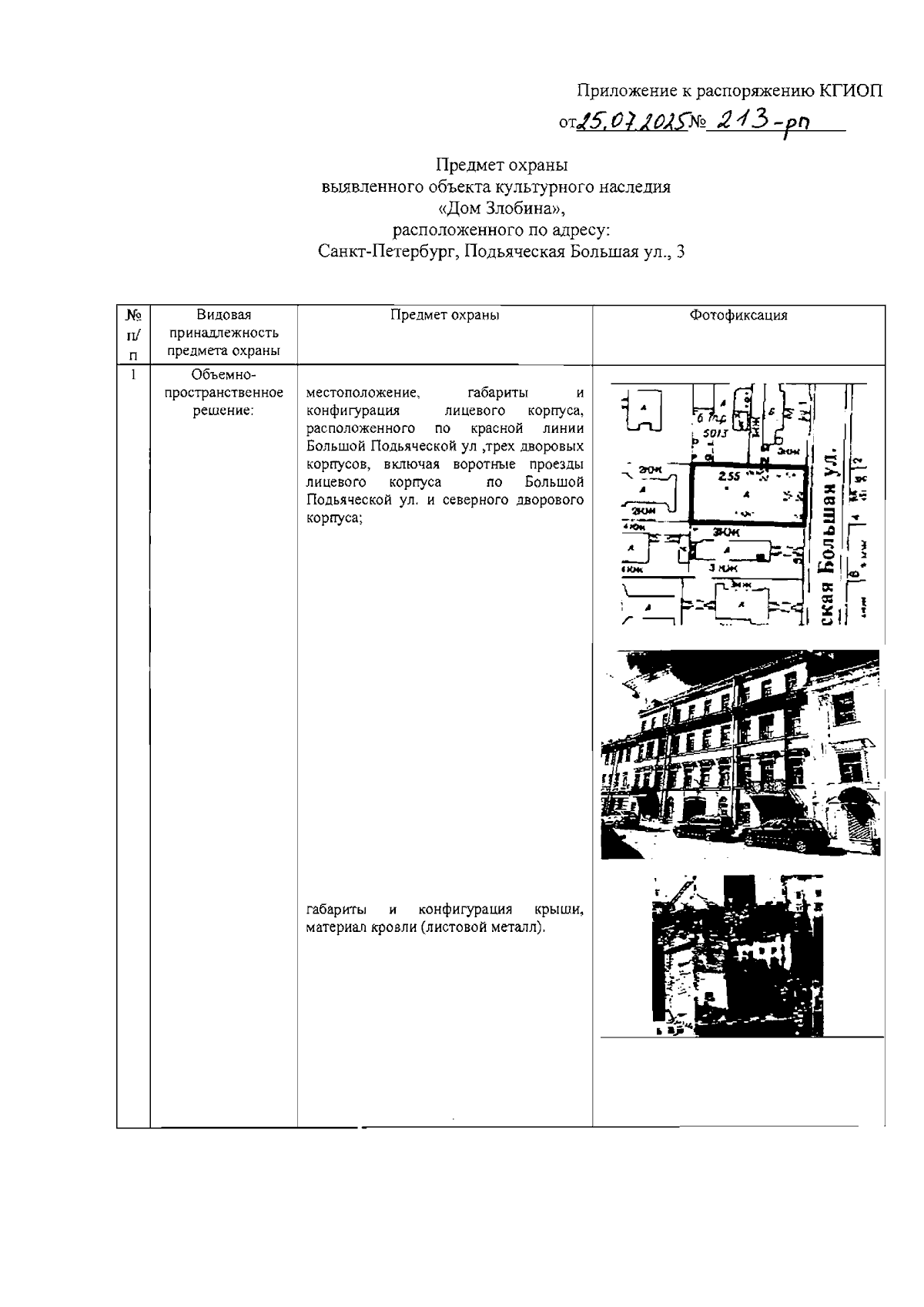
Распоряжение Комитета по государственному контролю, использованию и охране памятников истории и культуры от 25.07.2025 № 213-рп
"О внесении изменения в распоряжение КГИОП от 04.06.2024 № 741-рп"
(Зарегистрирован 25.07.2025 № 50718)
Номер опубликования: 7801202507280005
Дата опубликования: 28.07.2025
Страница №2 из 6:
Увеличить