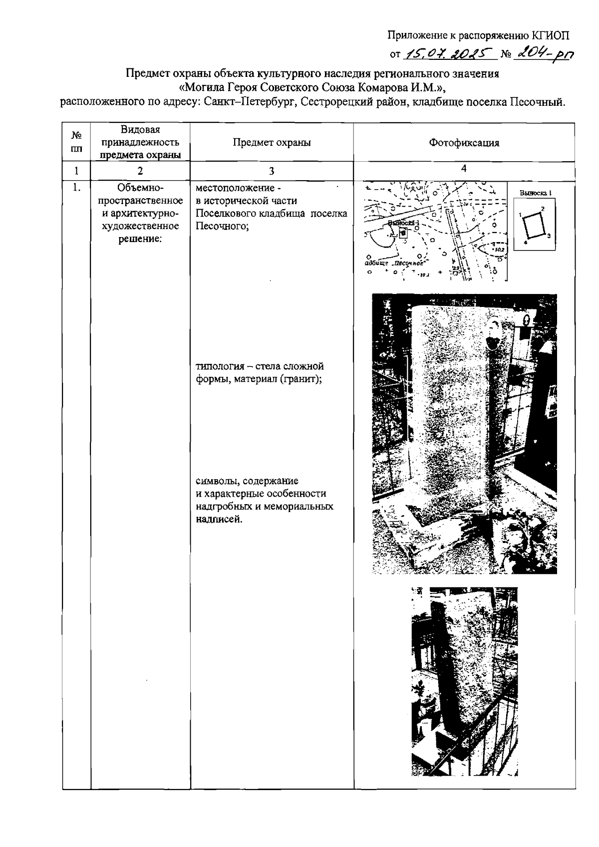
Распоряжение Комитета по государственному контролю, использованию и охране памятников истории и культуры от 15.07.2025 № 204-рп
"Об утверждении предмета охраны объекта культурного наследия регионального значения "Могила Героя Советского Союза Комарова И.М."
(Зарегистрирован 16.07.2025 № 50670)
"Об утверждении предмета охраны объекта культурного наследия регионального значения "Могила Героя Советского Союза Комарова И.М."
(Зарегистрирован 16.07.2025 № 50670)
Номер опубликования: 7801202507160002
Дата опубликования:
16.07.2025
