Официальное опубликование правовых актов
ОФИЦИАЛЬНОЕ ОПУБЛИКОВАНИЕ
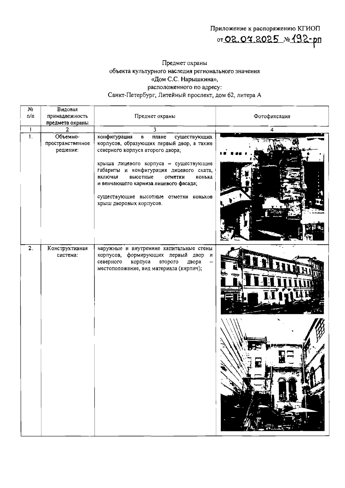
Распоряжение Комитета по государственному контролю, использованию и охране памятников истории и культуры от 02.07.2025 № 192-рп
"Об утверждении предмета охраны объекта культурного наследия регионального значения "Дом С.С. Нарышкина"
(Зарегистрирован 02.07.2025 № 50606)
Номер опубликования: 7801202507070006
Дата опубликования: 07.07.2025
Страница №2 из 26:
Увеличить