Официальное опубликование правовых актов
ОФИЦИАЛЬНОЕ ОПУБЛИКОВАНИЕ
Распоряжение Комитета по государственному контролю, использованию и охране памятников истории и культуры от 02.07.2025 № 193-рп
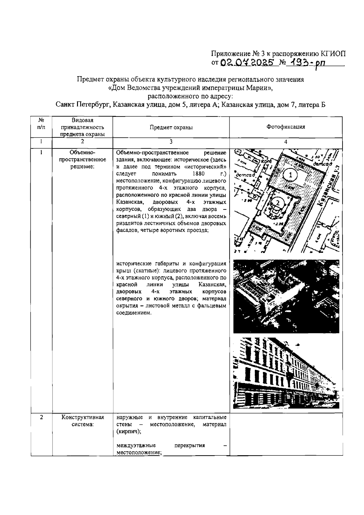
"О включении выявленного объекта культурного наследия в единый государственный реестр объектов культурного наследия (памятников истории и культуры) народов Российской Федерации в качестве объекта культурного наследия регионального значения "Дом Ведомства учреждений императрицы Марии", об утверждении границ и ежима использования территории объекта культурного наследия, об утверждении предмета охраны объекта культурного наследия"
(Зарегистрирован 02.07.2025 № 50605)
Номер опубликования: 7801202507070005
Дата опубликования: 07.07.2025
Страница №10 из 22:
Увеличить