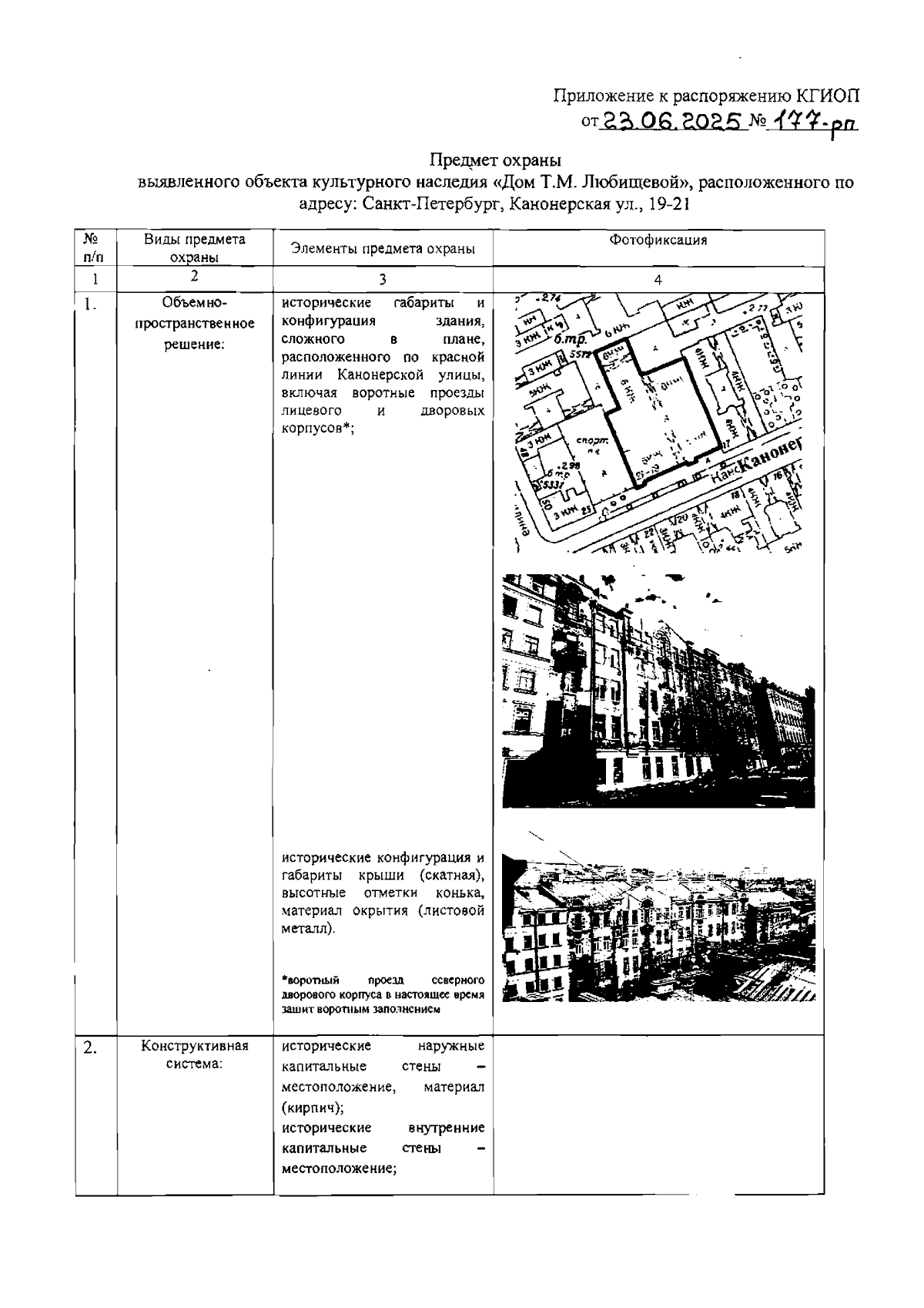
Распоряжение Комитета по государственному контролю, использованию и охране памятников истории и культуры от 23.06.2025 № 177-рп
"Об утверждении предмета охраны выявленного объекта культурного наследия "Дом Т.М. Любищевой"
(Зарегистрирован 23.06.2025 № 50549)
"Об утверждении предмета охраны выявленного объекта культурного наследия "Дом Т.М. Любищевой"
(Зарегистрирован 23.06.2025 № 50549)
Номер опубликования: 7801202506300005
Дата опубликования:
30.06.2025
