Официальное опубликование правовых актов
ОФИЦИАЛЬНОЕ ОПУБЛИКОВАНИЕ
Распоряжение Комитета по государственному контролю, использованию и охране памятников истории и культуры от 20.05.2025 № 144-рп
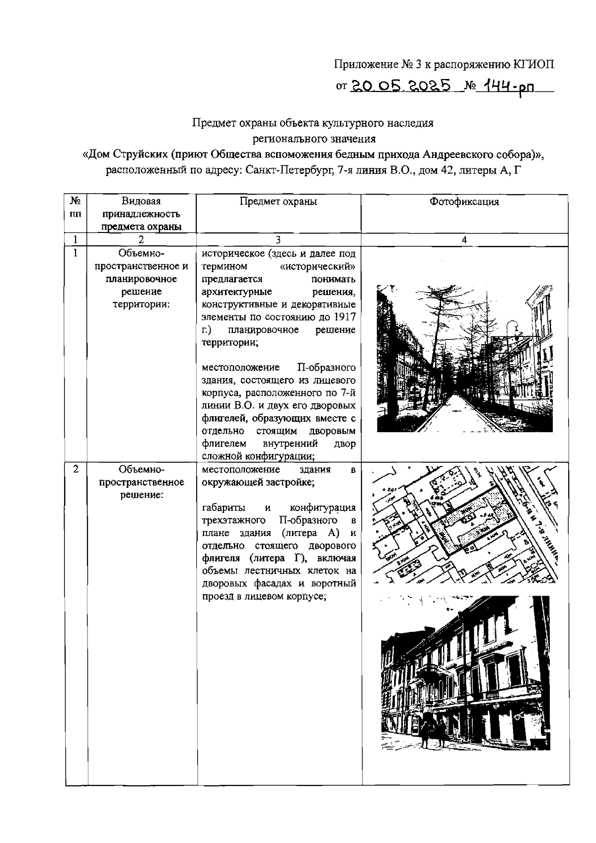
"О включении выявленного объекта культурного наследия в единый государственный реестр объектов культурного наследия (памятников истории и культуры) народов Российской Федерации в качестве объекта культурного наследия регионального значения "Дом Струйских (приют Общества вспоможения бедным прихода Андреевского собора)", об утверждении границ и режима использования территории объекта культурного наследия, об утверждении предмета охраны объекта культурного наследия"
(Зарегистрирован 20.05.2025 № 50405)
Номер опубликования: 7801202505260005
Дата опубликования: 26.05.2025
Страница №7 из 13:
Увеличить