Официальное опубликование правовых актов
ОФИЦИАЛЬНОЕ ОПУБЛИКОВАНИЕ
Распоряжение Комитета по государственному контролю, использованию и охране памятников истории и культуры от 13.05.2025 № 130-рп
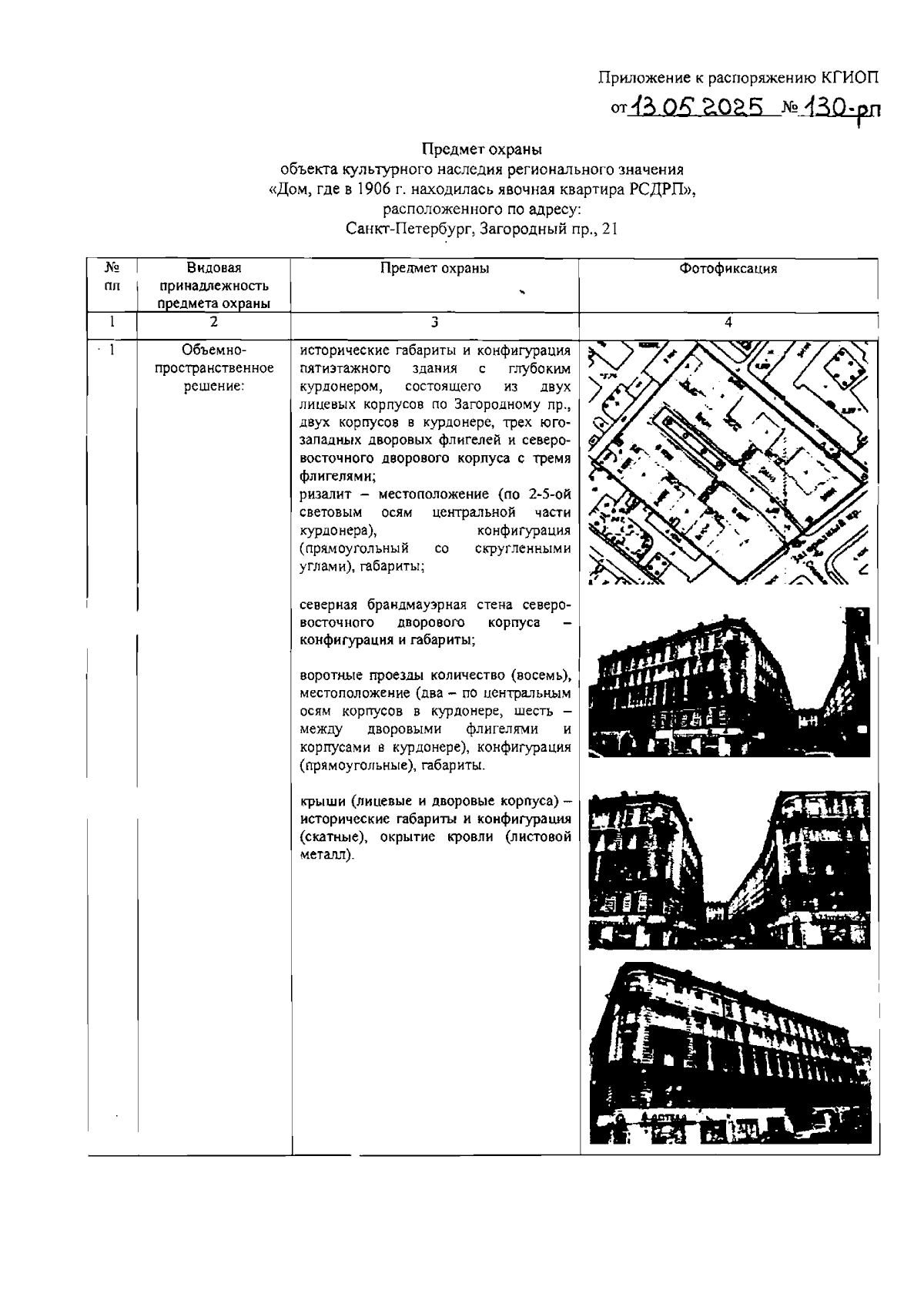
"Об утверждении предмета охраны объекта культурного наследия регионального значения "Дом, где в 1906 г. находилась явочная квартира РСДРП"
(Зарегистрирован 15.05.2025 № 50379)
Номер опубликования: 7801202505160004
Дата опубликования: 16.05.2025
Страница №3 из 19:
Увеличить