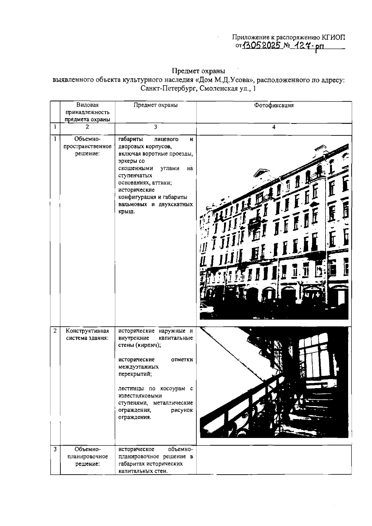
Распоряжение Комитета по государственному контролю, использованию и охране памятников истории и культуры от 13.05.2025 № 127-рп
"Об утверждении предмета охраны выявленного объекта культурного наследия "Дом М.Д.Усова"
(Зарегистрирован 14.05.2025 № 50367)
"Об утверждении предмета охраны выявленного объекта культурного наследия "Дом М.Д.Усова"
(Зарегистрирован 14.05.2025 № 50367)
Номер опубликования: 7801202505150013
Дата опубликования:
15.05.2025
