Официальное опубликование правовых актов
ОФИЦИАЛЬНОЕ ОПУБЛИКОВАНИЕ
Распоряжение Комитета по государственному контролю, использованию и охране памятников истории и культуры от 13.05.2025 № 129-рп
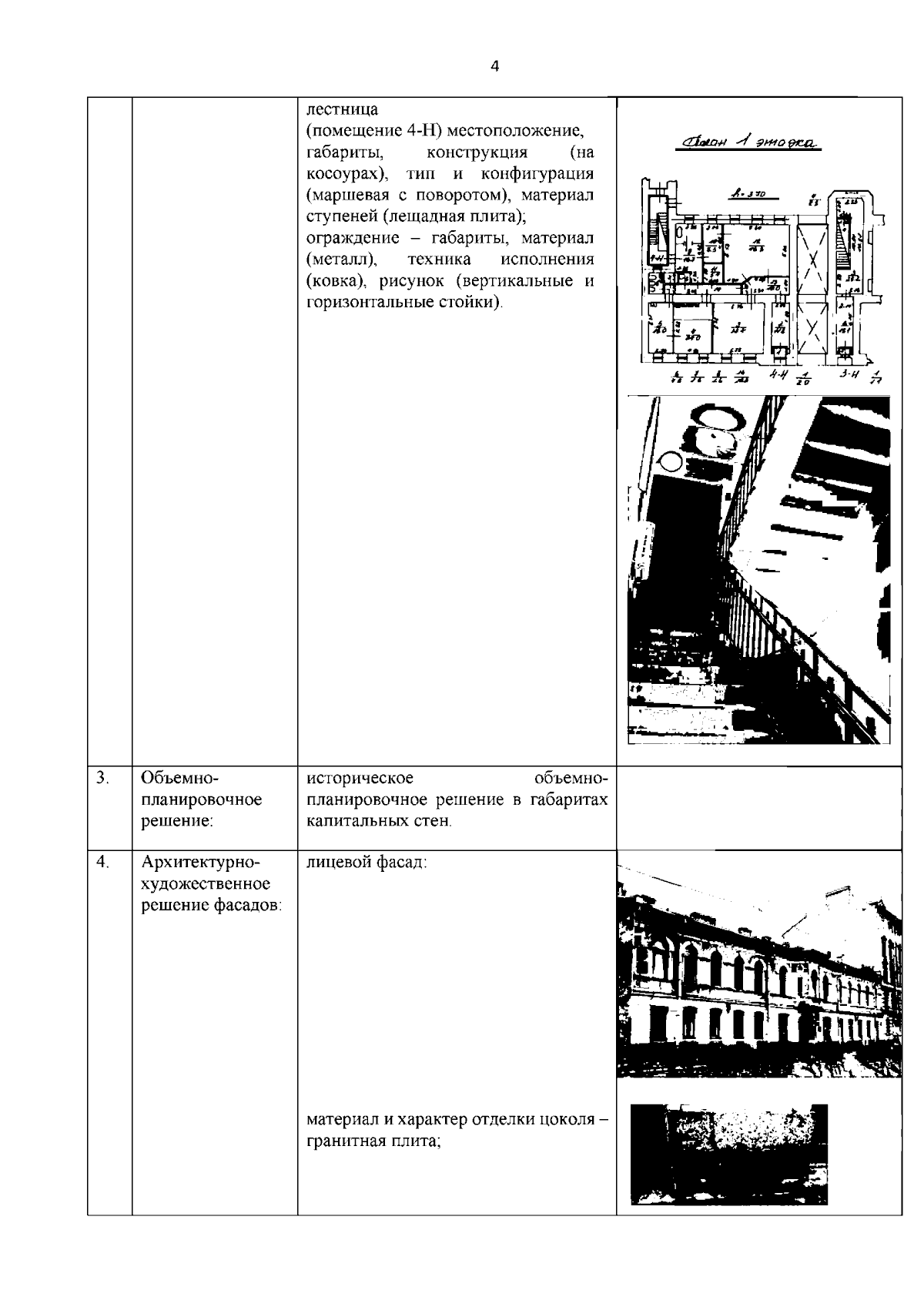
"Об утверждении предмета охраны объекта культурного наследия регионального значения "Особняк купца Н.Н. Башкирова"
(Зарегистрирован 14.05.2025 № 50373)
Номер опубликования: 7801202505150007
Дата опубликования: 15.05.2025
Страница №5 из 35:
Увеличить