Официальное опубликование правовых актов
ОФИЦИАЛЬНОЕ ОПУБЛИКОВАНИЕ
Распоряжение Комитета по государственному контролю, использованию и охране памятников истории и культуры от 23.04.2025 № 119-рп
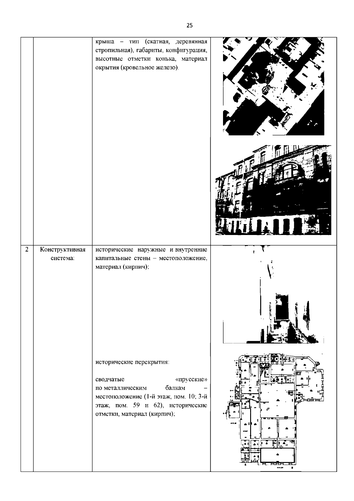
"Об утверждении предмета охраны объекта культурного наследия регионального значения "Комплекс картонажно-переплетной фабрики товарищества "Отто Кирхнер"
(Зарегистрирован 24.04.2025 № 50288)
Номер опубликования: 7801202504290002
Дата опубликования: 29.04.2025
Страница №26 из 36:
Увеличить