Официальное опубликование правовых актов
ОФИЦИАЛЬНОЕ ОПУБЛИКОВАНИЕ
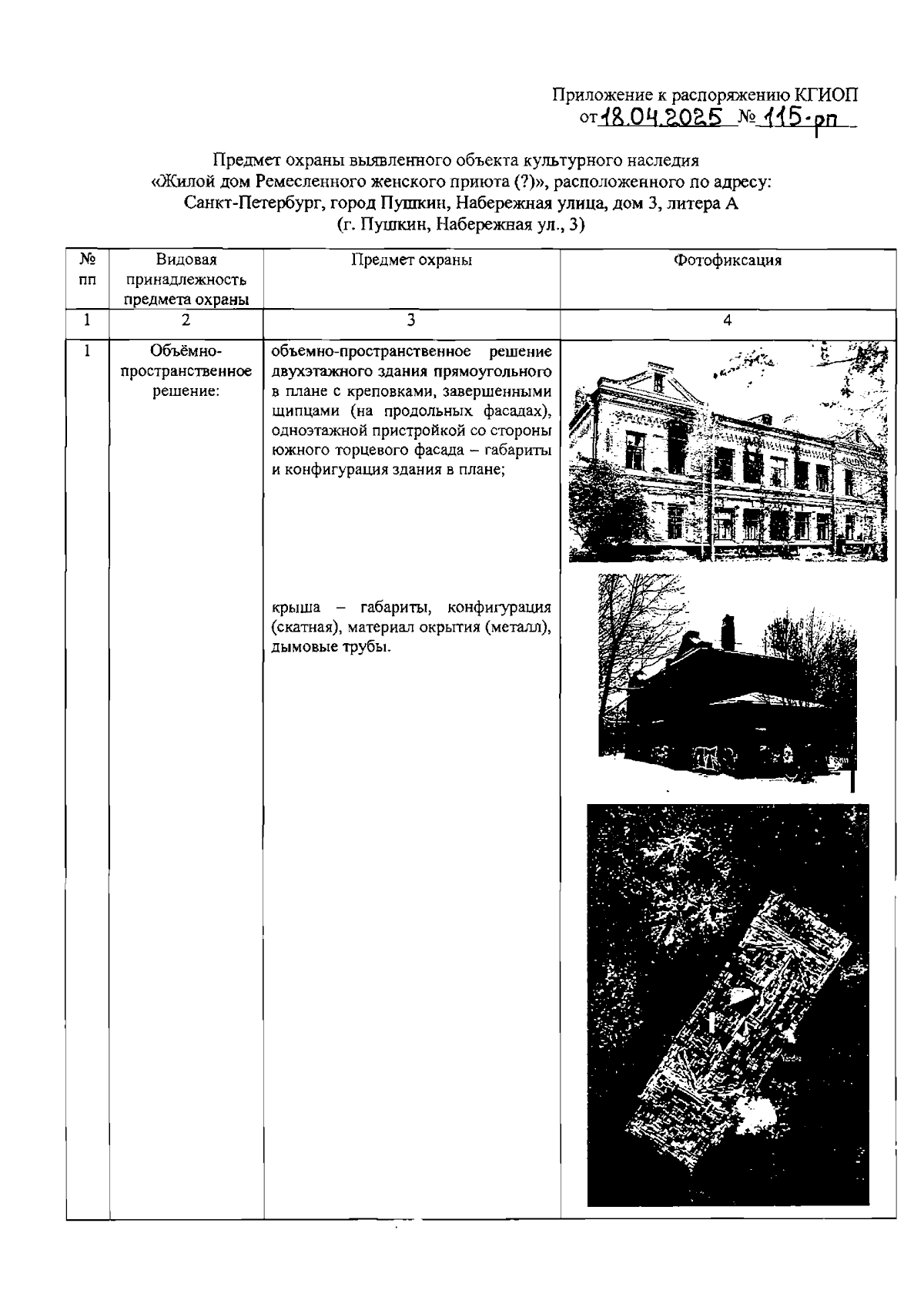
Распоряжение Комитета по государственному контролю, использованию и охране памятников истории и культуры от 18.04.2025 № 115-рп
"Об утверждении предмета охраны выявленного объекта культурного наследия "Жилой дом Ремесленного женского приюта (?)"
(Зарегистрирован 21.04.2025 № 50272)
Номер опубликования: 7801202504250016
Дата опубликования: 25.04.2025
Страница №2 из 4:
Увеличить