Официальное опубликование правовых актов
ОФИЦИАЛЬНОЕ ОПУБЛИКОВАНИЕ
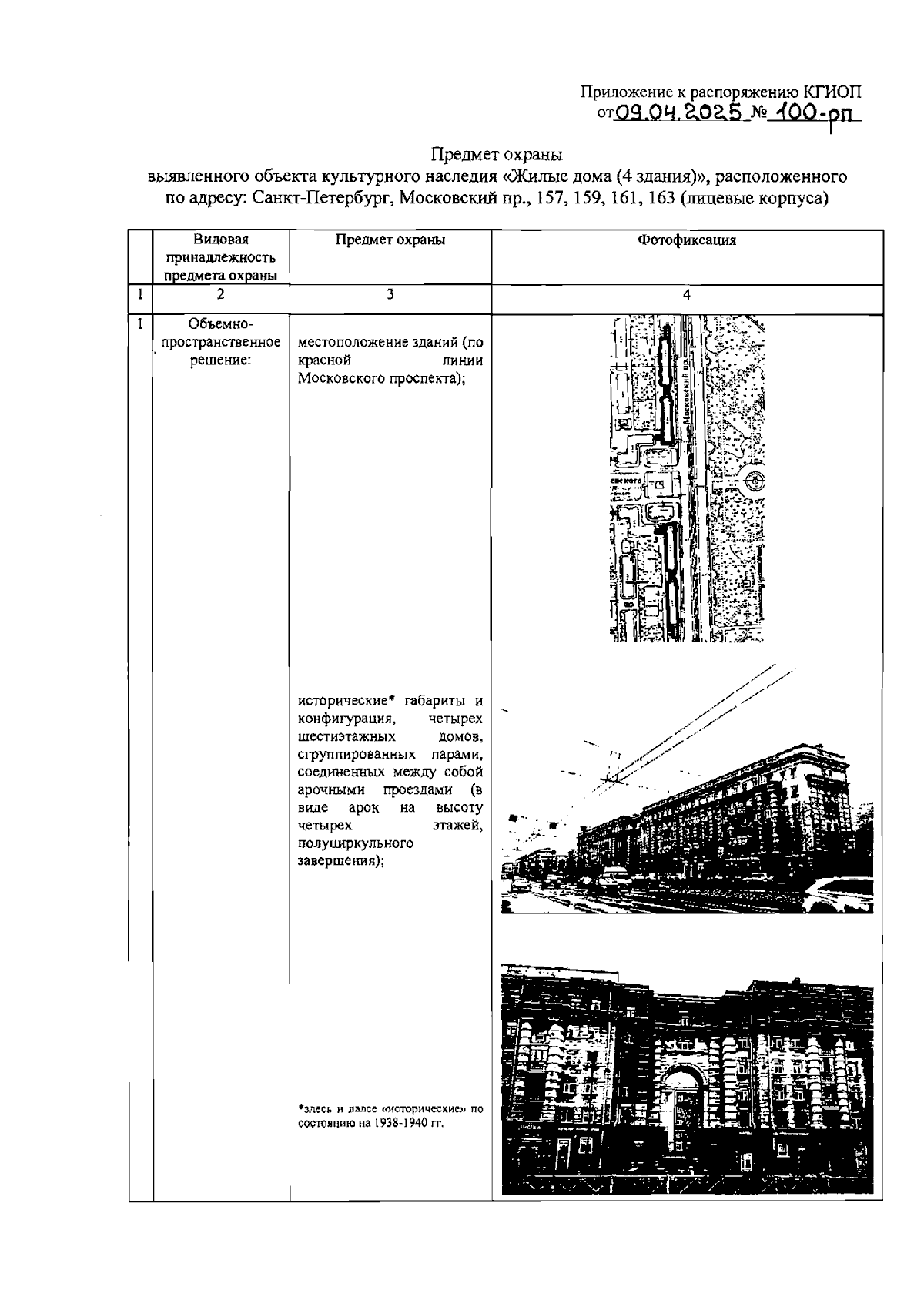
Распоряжение Комитета по государственному контролю, использованию и охране памятников истории и культуры от 09.04.2025 № 100-рп
"Об утверждении предмета охраны выявленного объекта культурного наследия "Жилые дома (4 здания)"
(Зарегистрирован 10.04.2025 № 50212)
Номер опубликования: 7801202504150006
Дата опубликования: 15.04.2025
Страница №2 из 16:
Увеличить