Официальное опубликование правовых актов
ОФИЦИАЛЬНОЕ ОПУБЛИКОВАНИЕ
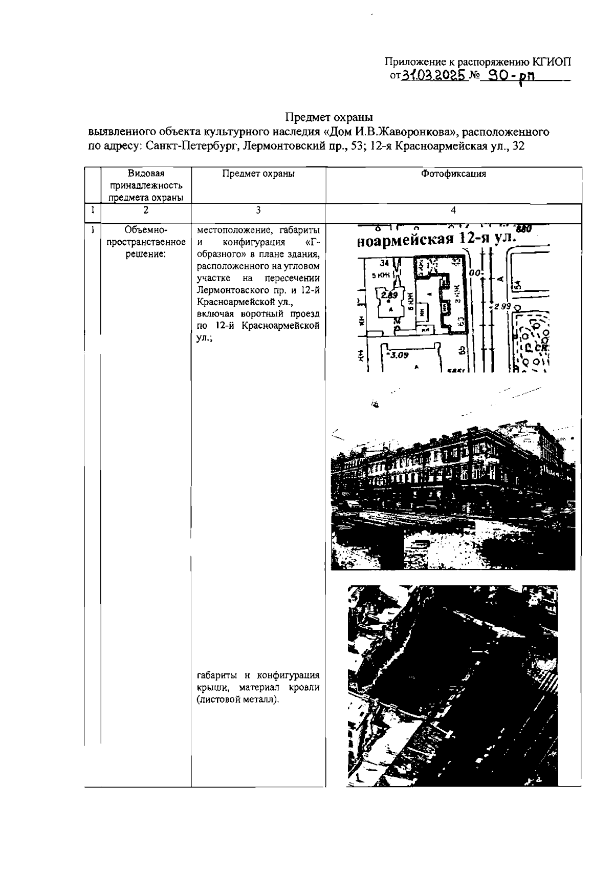
Распоряжение Комитета по государственному контролю, использованию и охране памятников истории и культуры от 31.03.2025 № 90-рп
"Об утверждении предмета охраны выявленного объекта культурного наследия "Дом И.В.Жаворонкова"
(Зарегистрирован 03.04.2025 № 50184)
Номер опубликования: 7801202504080006
Дата опубликования: 08.04.2025
Страница №2 из 5:
Увеличить