Официальное опубликование правовых актов
ОФИЦИАЛЬНОЕ ОПУБЛИКОВАНИЕ
Распоряжение Комитета по государственному контролю, использованию и охране памятников истории и культуры от 31.03.2025 № 87-рп
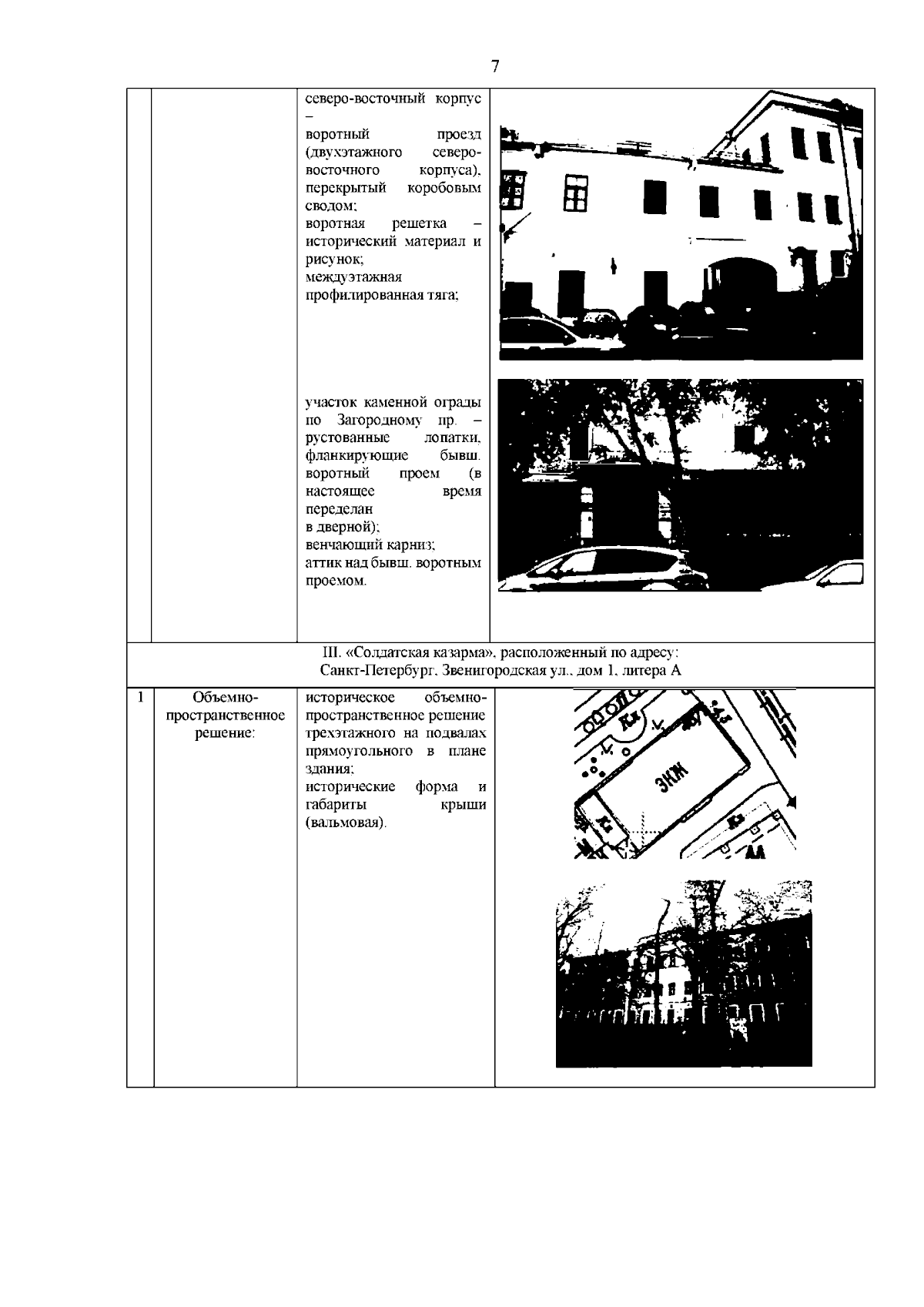
"Об утверждении предмета охраны объекта культурного наследия регионального значения "Комплекс казарм Семеновского и Егерского полков"
(Зарегистрирован 02.04.2025 № 50181)
Номер опубликования: 7801202504070013
Дата опубликования: 07.04.2025
Страница №8 из 64:
Увеличить