Распоряжение Комитета по государственному контролю, использованию и охране памятников истории и культуры от 20.03.2025 № 57-рп
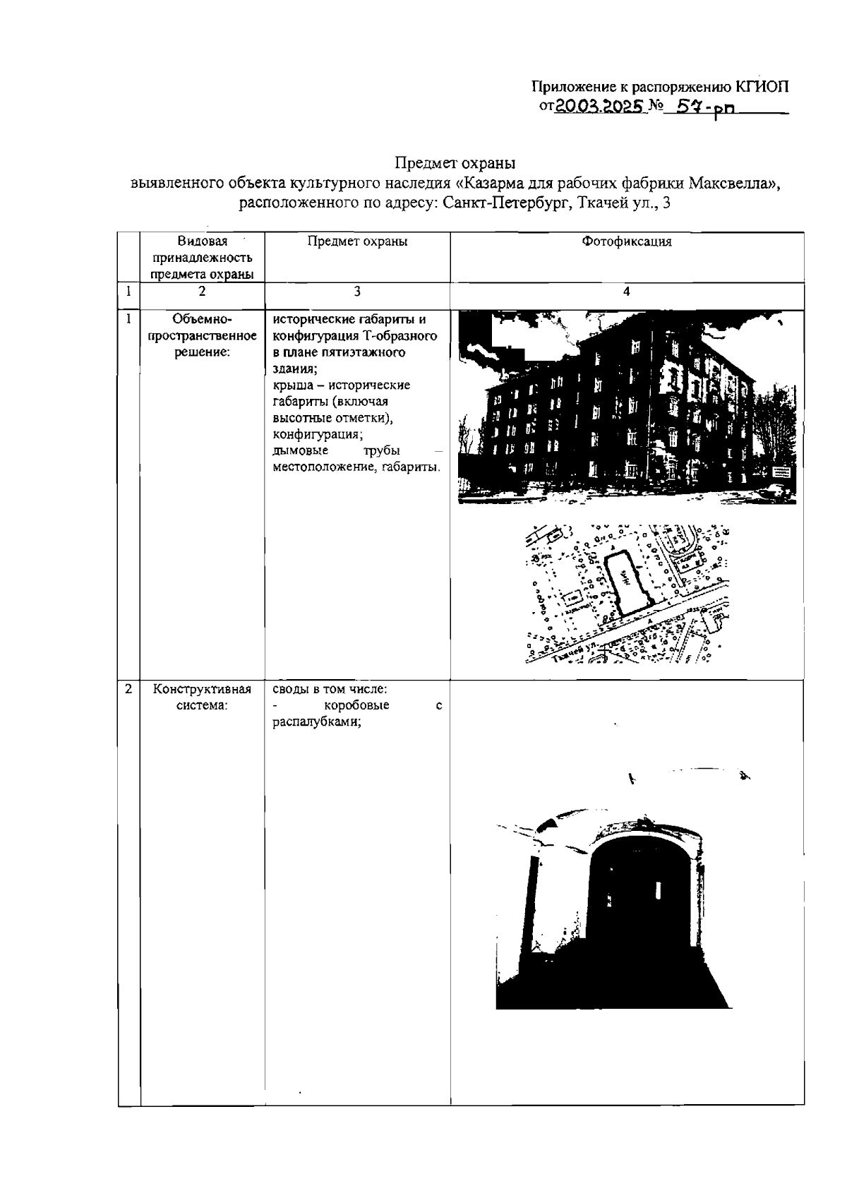
"Об утверждении предмета охраны выявленного объекта культурного наследия "Казарма для рабочих фабрики Максвелла"
(Зарегистрирован 21.03.2025 № 50110)
"Об утверждении предмета охраны выявленного объекта культурного наследия "Казарма для рабочих фабрики Максвелла"
(Зарегистрирован 21.03.2025 № 50110)
Номер опубликования: 7801202503240002
Дата опубликования:
24.03.2025
