Официальное опубликование правовых актов
ОФИЦИАЛЬНОЕ ОПУБЛИКОВАНИЕ
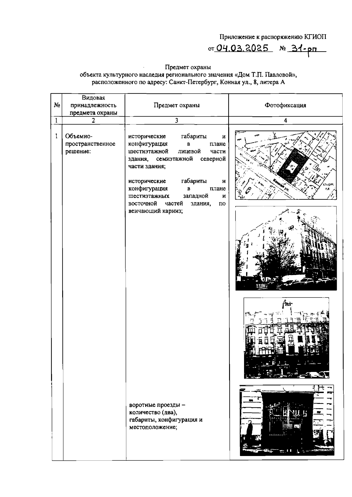
Распоряжение Комитета по государственному контролю, использованию и охране памятников истории и культуры от 04.03.2025 № 31-рп
"Об утверждении предмета охраны объекта культурного наследия регионального значения "Дом Т.П.Павловой"
(Зарегистрирован 05.03.2025 № 50037)
Номер опубликования: 7801202503070018
Дата опубликования: 07.03.2025
Страница №2 из 37:
Увеличить