Официальное опубликование правовых актов
ОФИЦИАЛЬНОЕ ОПУБЛИКОВАНИЕ
Распоряжение Комитета по государственному контролю, использованию и охране памятников истории и культуры от 19.12.2024 № 1561-рп
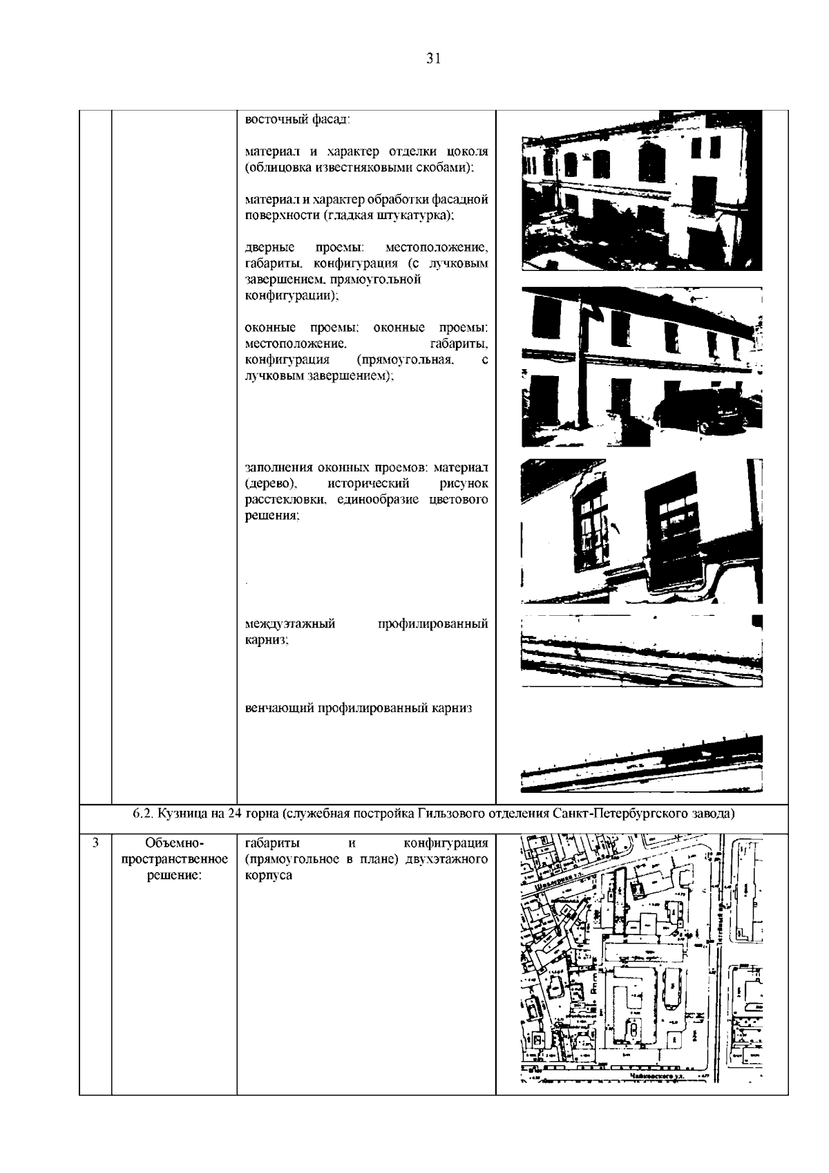
"О включении выявленного объекта культурного наследия в единый государственный реестр объектов культурного наследия (памятников истории и культуры) народов Российской Федерации в качестве объекта культурного наследия регионального значения "Новый Арсенал (Главное Артиллерийское управление, Гильзовое отделение Санкт-Петербургского патронного завода и Петербургский орудийный завод)", об утверждении границ и режима использования территории объекта культурного наследия, об утверждении предмета охраны объекта культурного наследия"
(Зарегистрирован 20.12.2024 № 49644)
Номер опубликования: 7801202412240033
Дата опубликования: 24.12.2024
Страница №40 из 46:
Увеличить