Официальное опубликование правовых актов
ОФИЦИАЛЬНОЕ ОПУБЛИКОВАНИЕ
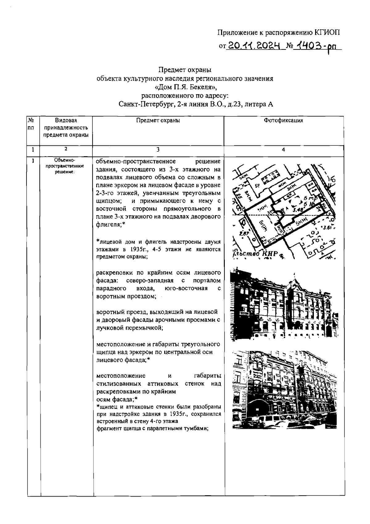
Распоряжение Комитета по государственному контролю, использованию и охране памятников истории и культуры от 20.11.2024 № 1403-рп
"Об утверждении предмета охраны объекта культурного наследия регионального значения "Дом П.Я. Бекеля"
(Зарегистрирован 21.11.2024 № 49342)
Номер опубликования: 7801202411260016
Дата опубликования: 26.11.2024
Страница №2 из 56:
Увеличить