Официальное опубликование правовых актов
ОФИЦИАЛЬНОЕ ОПУБЛИКОВАНИЕ
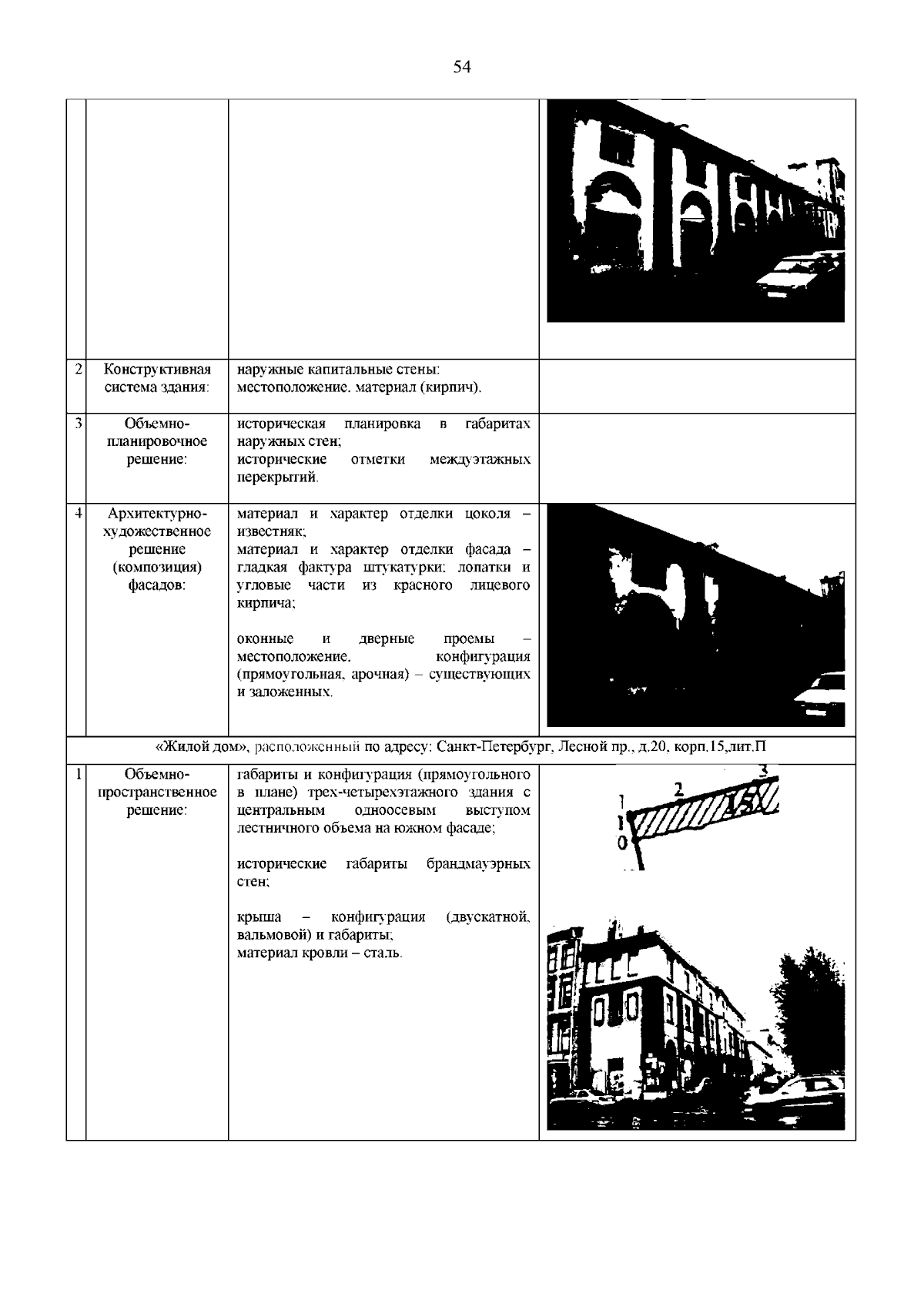
Распоряжение Комитета по государственному контролю, использованию и охране памятников истории и культуры от 13.11.2024 № 1369-рп
"Об утверждении предмета охраны объекта культурного наследия регионального значения "Жилые дома для служащих завода Л. Нобеля (комплекс с территорией)"
(Зарегистрирован 14.11.2024 № 49290)
Номер опубликования: 7801202411200006
Дата опубликования: 20.11.2024
Страница №55 из 57:
Увеличить