Официальное опубликование правовых актов
ОФИЦИАЛЬНОЕ ОПУБЛИКОВАНИЕ
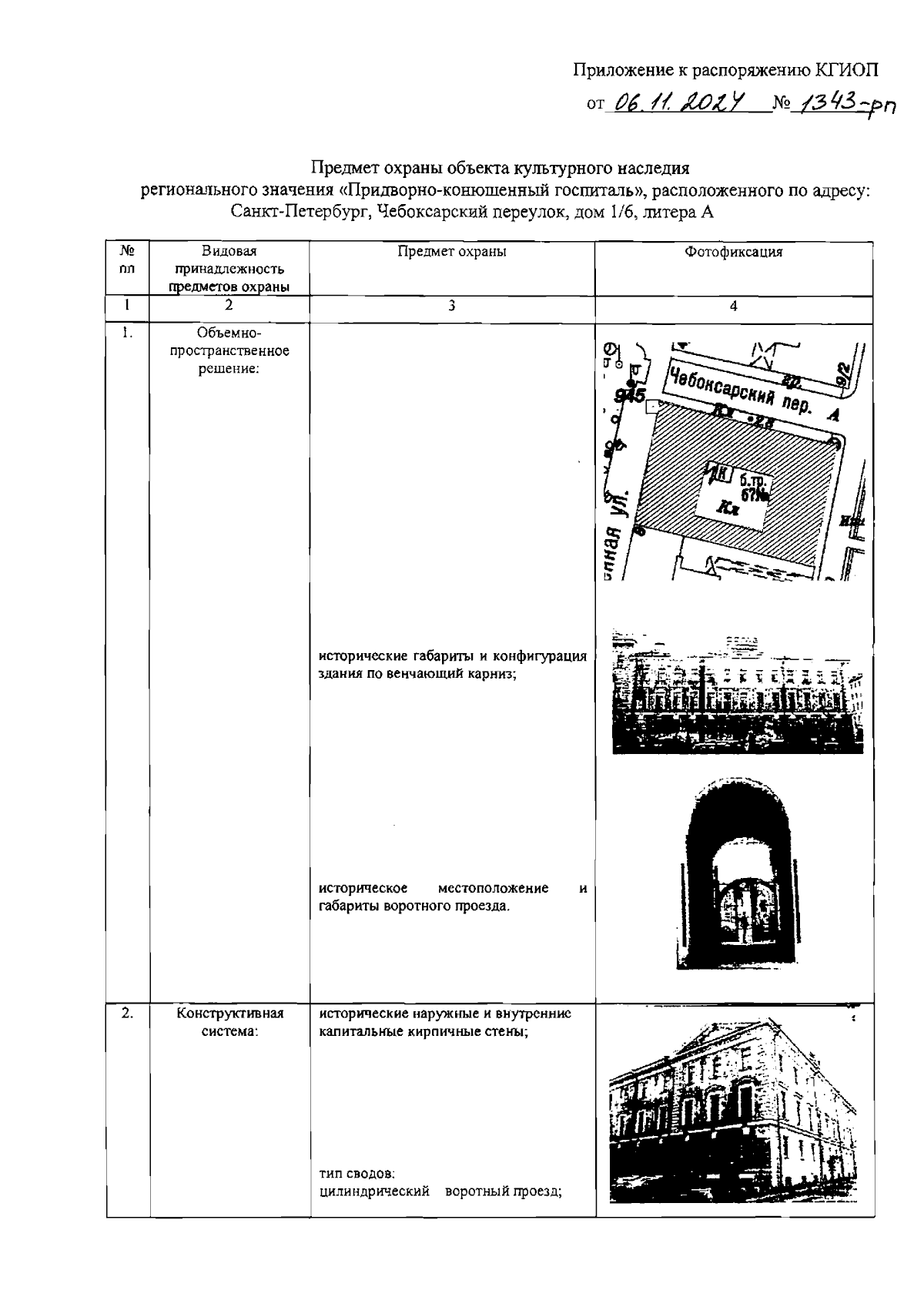
Распоряжение Комитета по государственному контролю, использованию и охране памятников истории и культуры от 06.11.2024 № 1343-рп
"Об утверждении предмета охраны объекта культурного наследия регионального значения "Придворно-конюшенный госпиталь"
(Зарегистрирован 07.11.2024 № 49243)
Номер опубликования: 7801202411080008
Дата опубликования: 08.11.2024
Страница №2 из 8:
Увеличить