Официальное опубликование правовых актов
ОФИЦИАЛЬНОЕ ОПУБЛИКОВАНИЕ
Распоряжение Комитета по государственному контролю, использованию и охране памятников истории и культуры от 30.10.2024 № 1331-рп
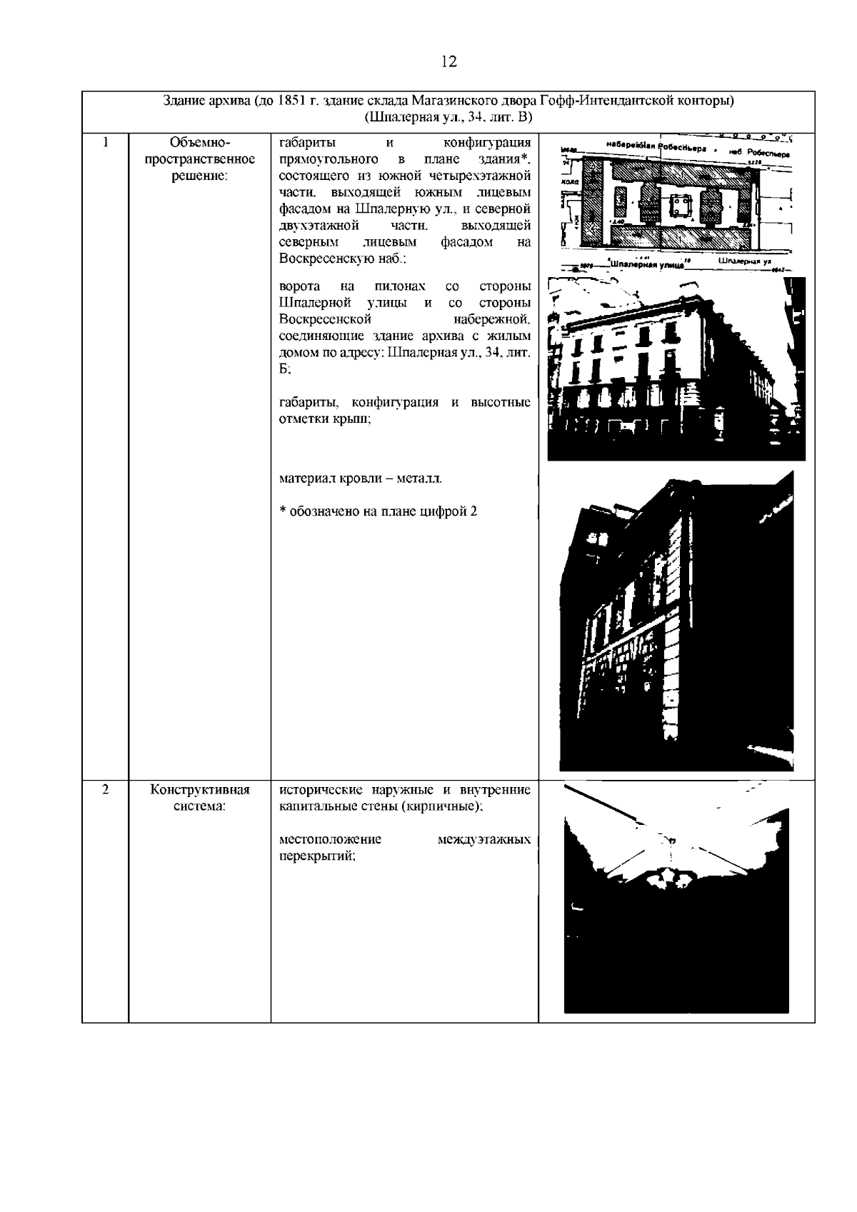
"Об утверждении предмета охраны объекта культурного наследия регионального значения "Жилой дом и архив Министерства Императорского двора"
(Зарегистрирован 02.11.2024 № 49225)
Номер опубликования: 7801202411070004
Дата опубликования: 07.11.2024
Страница №13 из 19:
Увеличить