Официальное опубликование правовых актов
ОФИЦИАЛЬНОЕ ОПУБЛИКОВАНИЕ
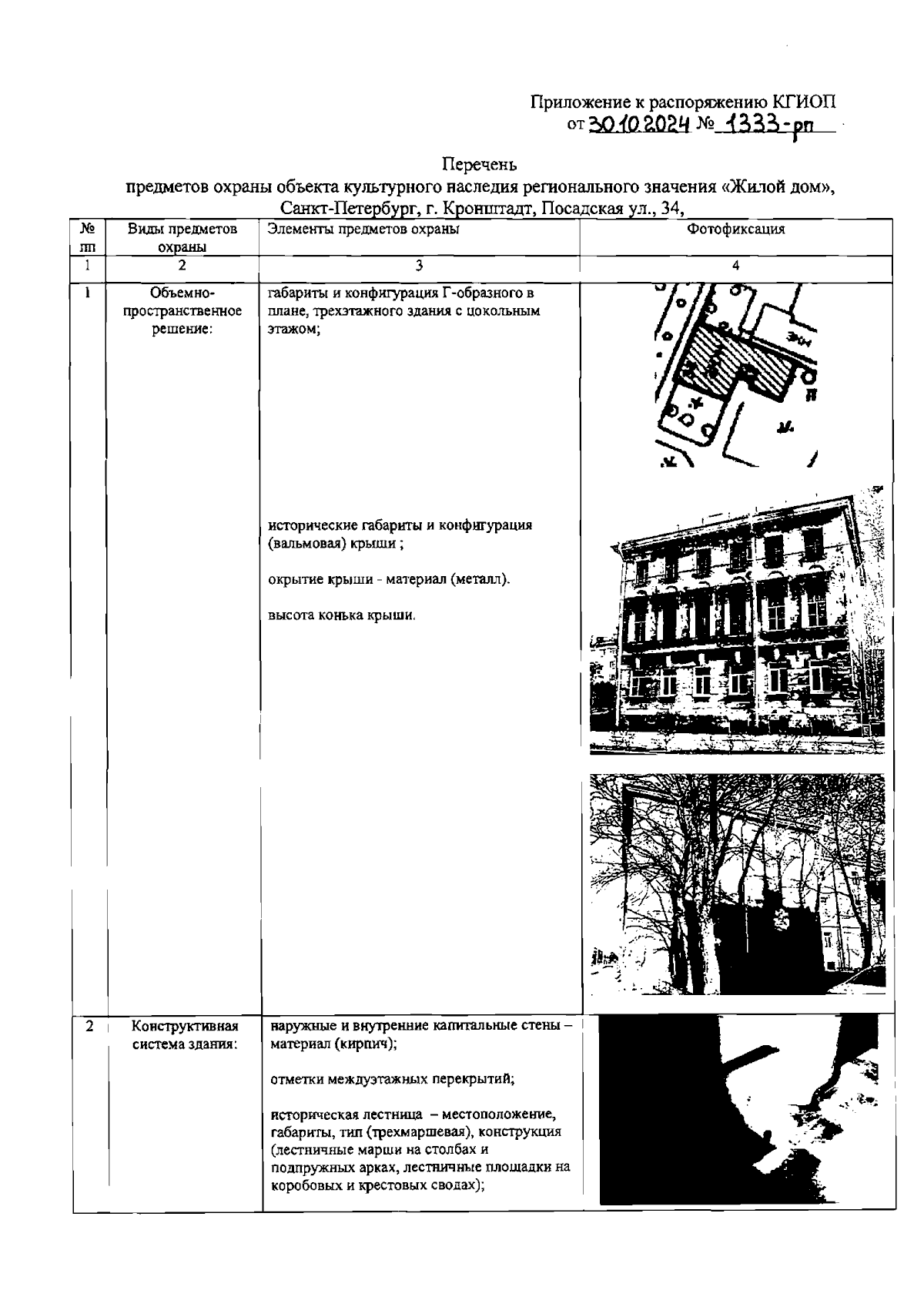
Распоряжение Комитета по государственному контролю, использованию и охране памятников истории и культуры от 30.10.2024 № 1333-рп
"Об утверждении предмета охраны объекта культурного наследия регионального значения "Жилой дом"
(Зарегистрирован 02.11.2024 № 49227)
Номер опубликования: 7801202411070002
Дата опубликования: 07.11.2024
Страница №2 из 7:
Увеличить