Официальное опубликование правовых актов
ОФИЦИАЛЬНОЕ ОПУБЛИКОВАНИЕ
Распоряжение Комитета по государственному контролю, использованию и охране памятников истории и культуры от 25.10.2024 № 1317-рп
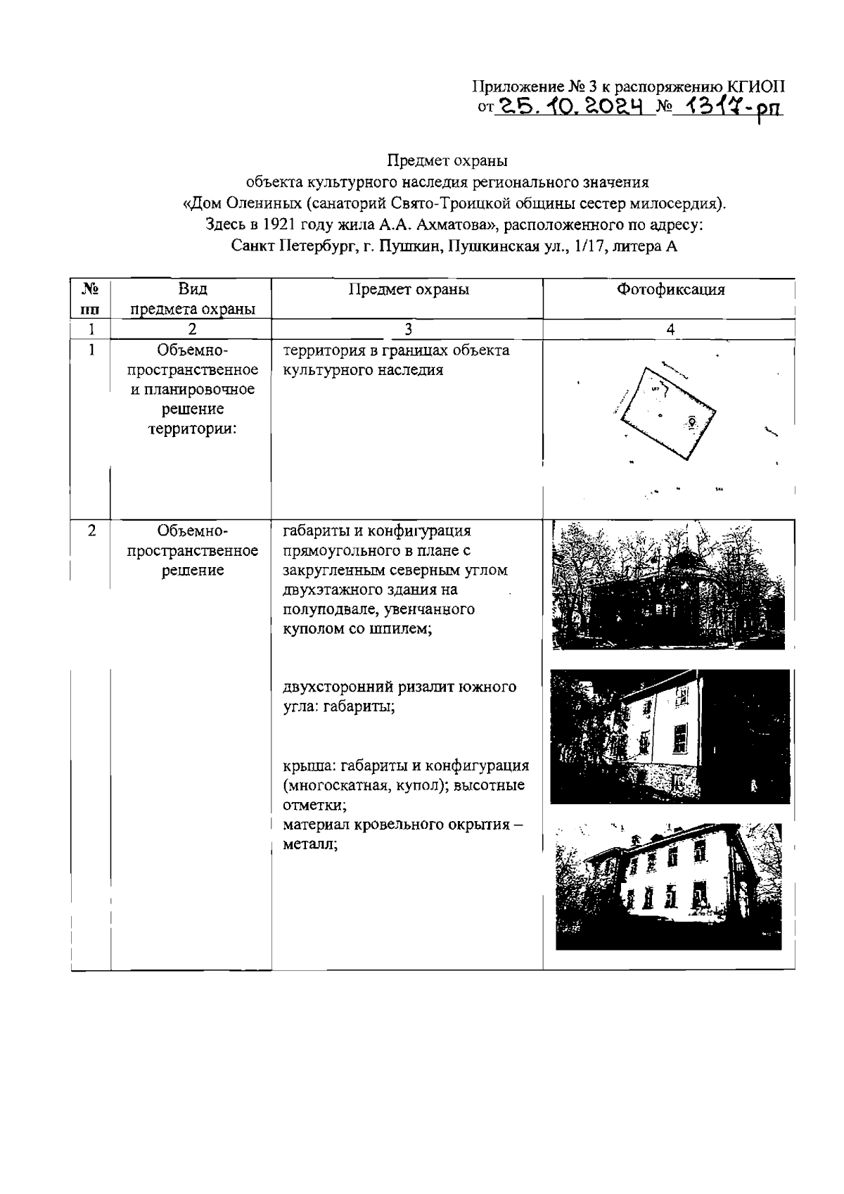
"О включении выявленного объекта культурного наследия в единый государственный реестр объектов культурного наследия (памятников истории и культуры) народов Российской Федерации в качестве объекта культурного наследия регионального значения "Дом Олениных (санаторий Свято-Троицкой общины сестер милосердия). Здесь в 1921 году жила А. А. Ахматова", об утверждении границ и режима использования территории объекта культурного наследия, об утверждении предмета охраны объекта культурного наследия"
(Зарегистрирован 28.10.2024 № 49177)
Номер опубликования: 7801202410300003
Дата опубликования: 30.10.2024
Страница №6 из 8:
Увеличить