Официальное опубликование правовых актов
ОФИЦИАЛЬНОЕ ОПУБЛИКОВАНИЕ
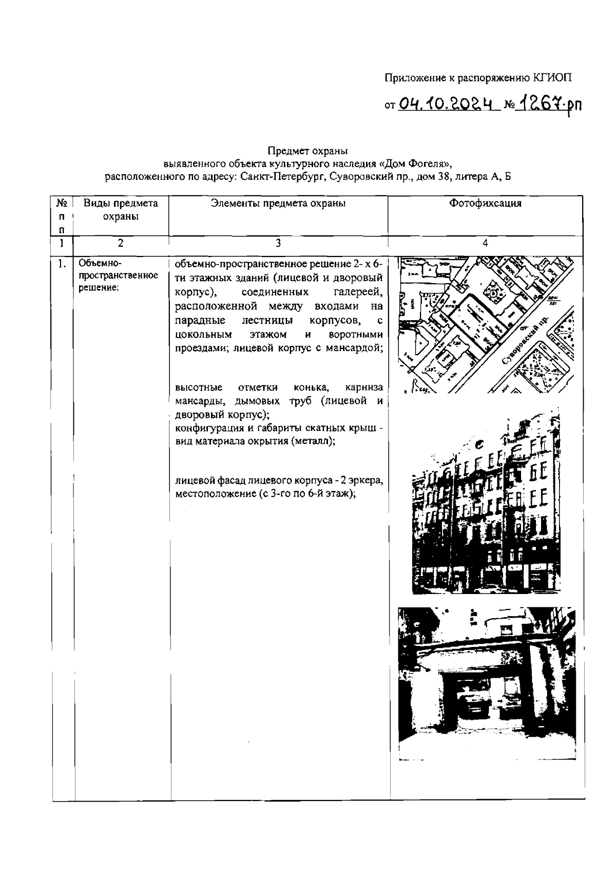
Распоряжение Комитета по государственному контролю, использованию и охране памятников истории и культуры от 04.10.2024 № 1267-рп
"Об утверждении предмета охраны выявленного объекта культурного наследия "Дом Фогеля"
(Зарегистрирован 08.10.2024 № 49059)
Номер опубликования: 7801202410100006
Дата опубликования: 10.10.2024
Страница №2 из 27:
Увеличить