Официальное опубликование правовых актов
ОФИЦИАЛЬНОЕ ОПУБЛИКОВАНИЕ
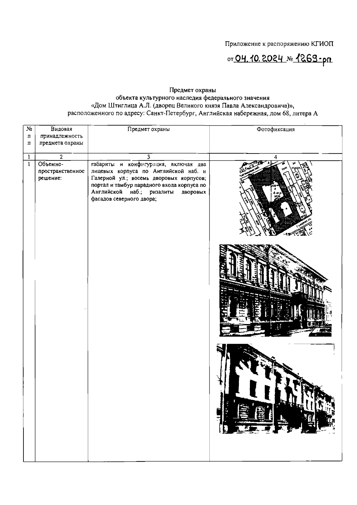
Распоряжение Комитета по государственному контролю, использованию и охране памятников истории и культуры от 04.10.2024 № 1269-рп
"Об утверждении предмета охраны объекта культурного наследия федерального значения "Дом Штиглица А. Л. (дворец Великого князя Павла Александровича)"
(Зарегистрирован 08.10.2024 № 49054)
Номер опубликования: 7801202410090020
Дата опубликования: 09.10.2024
Страница №2 из 116:
Увеличить