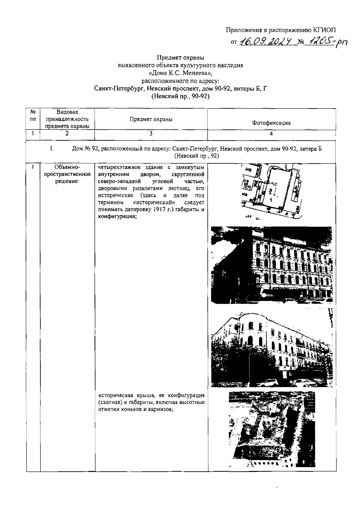
Распоряжение Комитета по государственному контролю, использованию и охране памятников истории и культуры от 16.09.2024 № 1205-рп
"Об утверждении предмета охраны выявленного объекта культурного наследия "Дома К.С. Меняева"
(Зарегистрирован 16.09.2024 № 48925)
"Об утверждении предмета охраны выявленного объекта культурного наследия "Дома К.С. Меняева"
(Зарегистрирован 16.09.2024 № 48925)
Номер опубликования: 7801202409180010
Дата опубликования:
18.09.2024
