Официальное опубликование правовых актов
ОФИЦИАЛЬНОЕ ОПУБЛИКОВАНИЕ
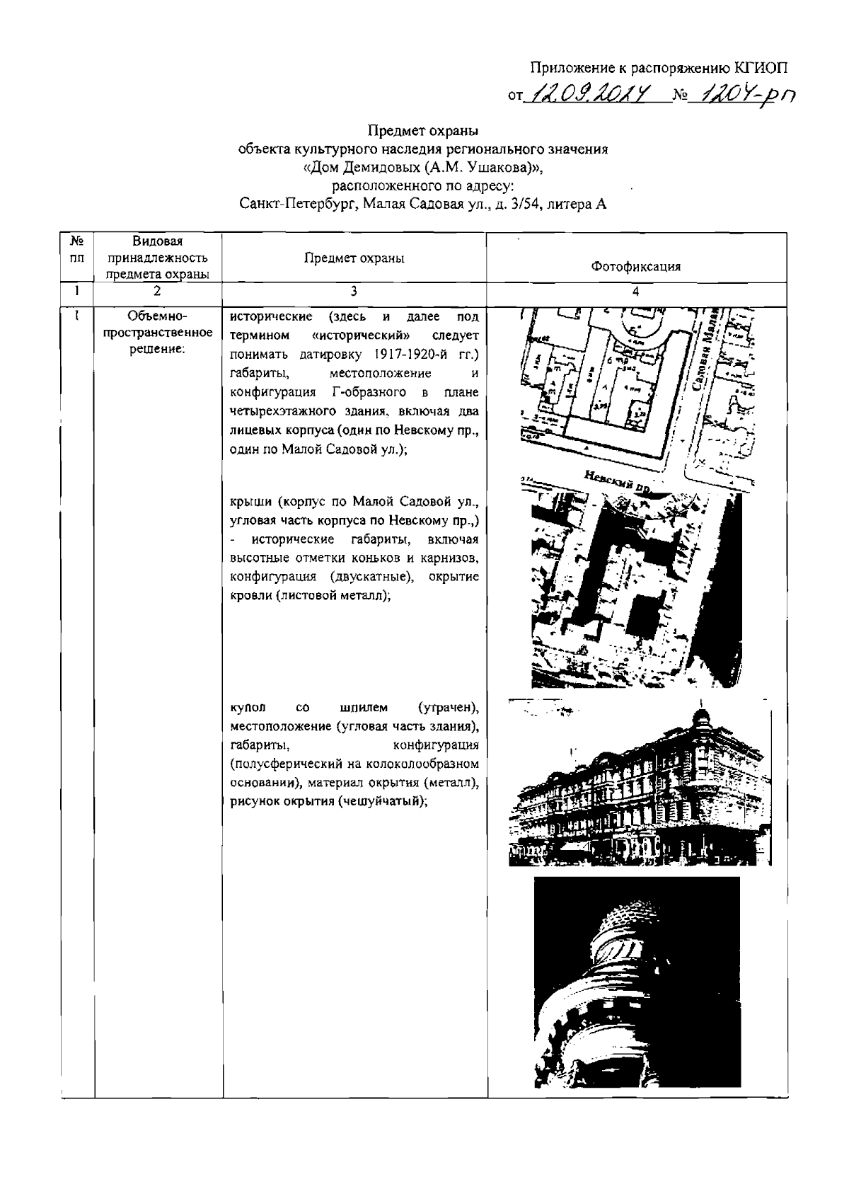
Распоряжение Комитета по государственному контролю, использованию и охране памятников истории и культуры от 12.09.2024 № 1204-рп
"О внесении изменения в распоряжение КГИОП от 19.04.2023 № 257-рп"
(Зарегистрирован 13.09.2024 № 48908)
Номер опубликования: 7801202409140009
Дата опубликования: 14.09.2024
Страница №3 из 23:
Увеличить