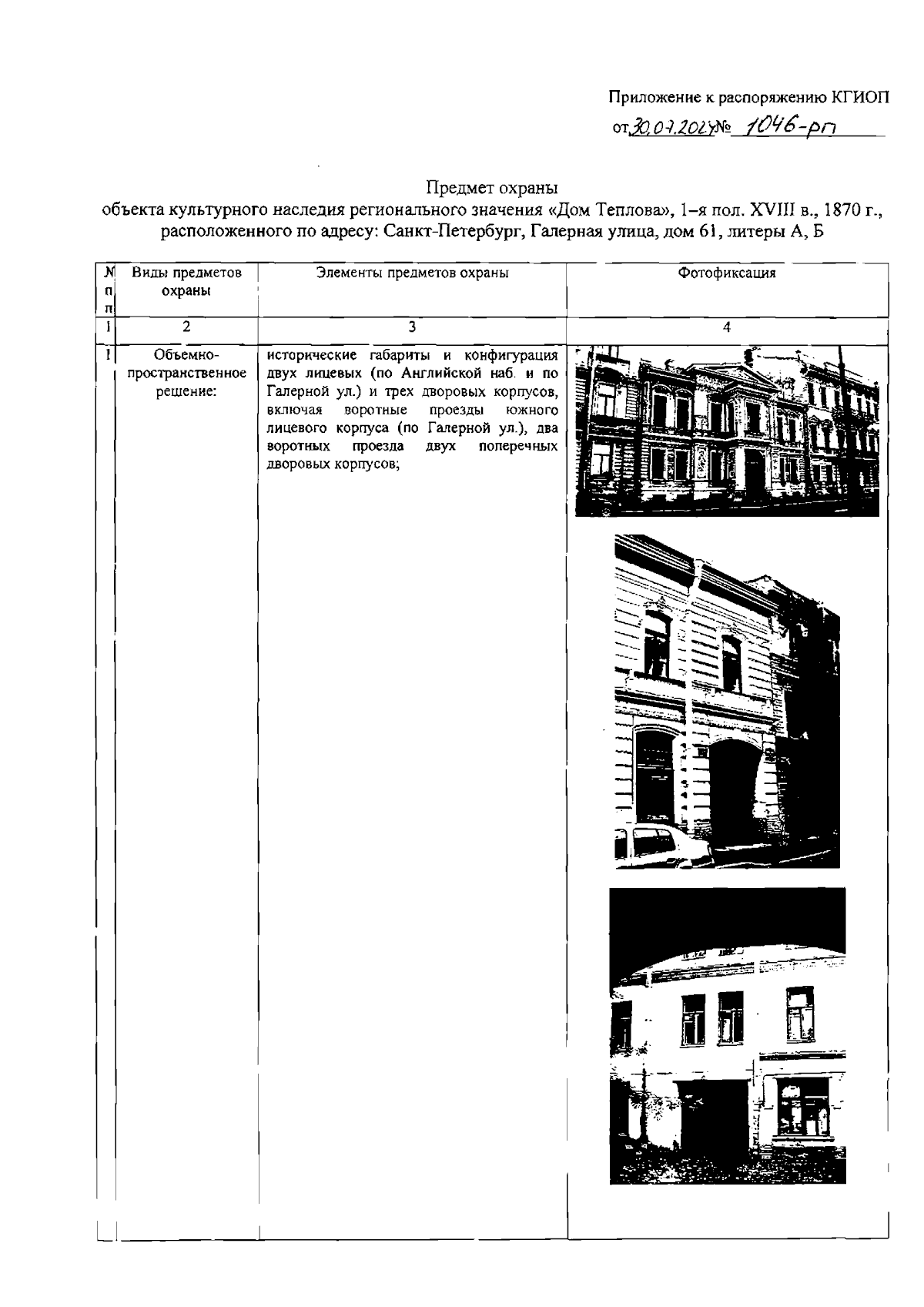
Распоряжение Комитета по государственному контролю, использованию и охране памятников истории и культуры от 30.07.2024 № 1046-рп
"Об утверждении предмета охраны объекта культурного наследия регионального значения "Дом Теплова"
(Зарегистрирован 31.07.2024 № 48588)
"Об утверждении предмета охраны объекта культурного наследия регионального значения "Дом Теплова"
(Зарегистрирован 31.07.2024 № 48588)
Номер опубликования: 7801202408020006
Дата опубликования:
02.08.2024
