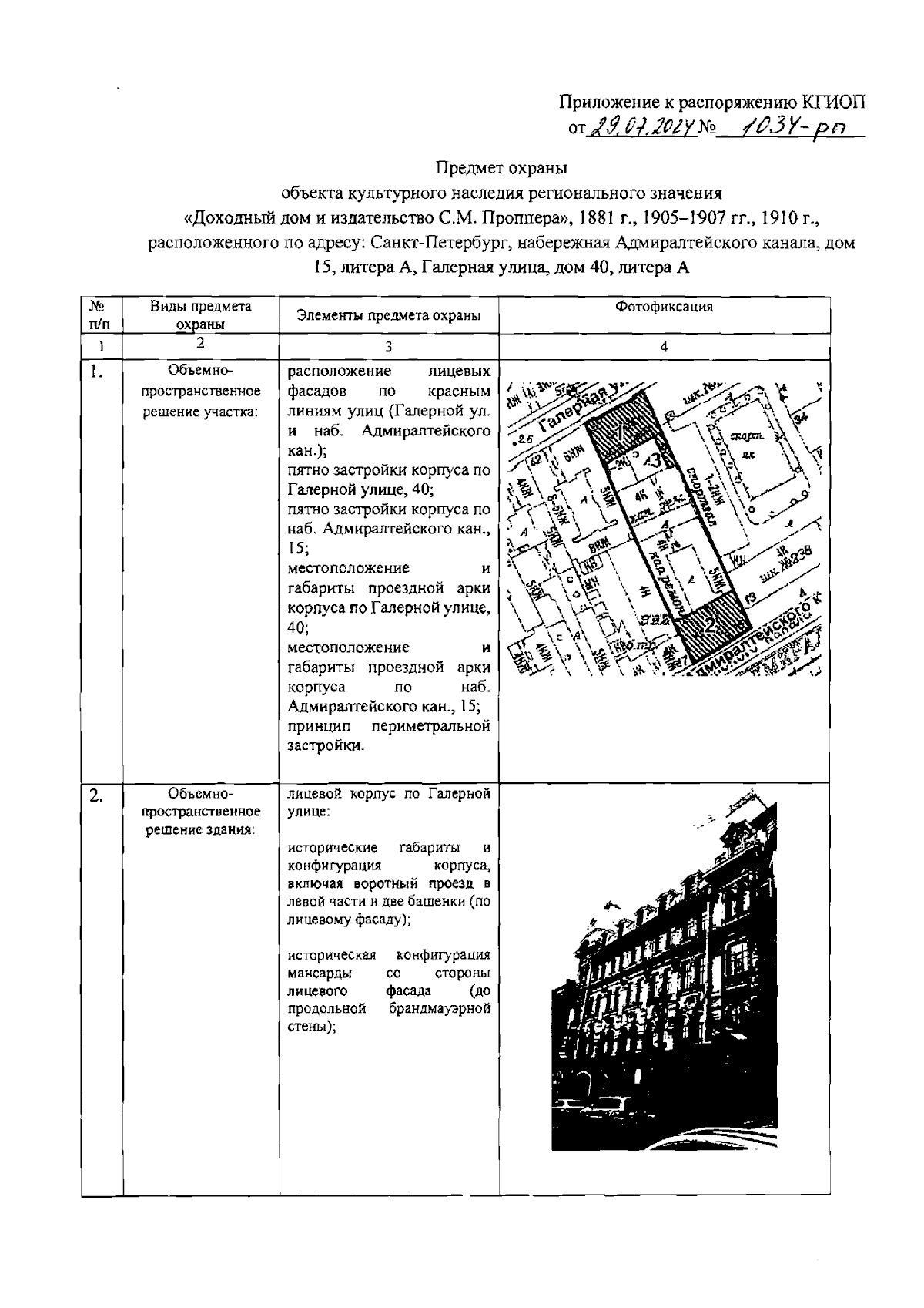
Распоряжение Комитета по государственному контролю, использованию и охране памятников истории и культуры от 29.07.2024 № 1034-рп
"Об утверждении предмета охраны объекта культурного наследия регионального значения "Доходный дом и издательство С.М. Проппера"
(Зарегистрирован 30.07.2024 № 48570)
"Об утверждении предмета охраны объекта культурного наследия регионального значения "Доходный дом и издательство С.М. Проппера"
(Зарегистрирован 30.07.2024 № 48570)
Номер опубликования: 7801202408010005
Дата опубликования:
01.08.2024
