Официальное опубликование правовых актов
ОФИЦИАЛЬНОЕ ОПУБЛИКОВАНИЕ
Распоряжение Комитета по государственному контролю, использованию и охране памятников истории и культуры от 29.07.2024 № 1035-рп
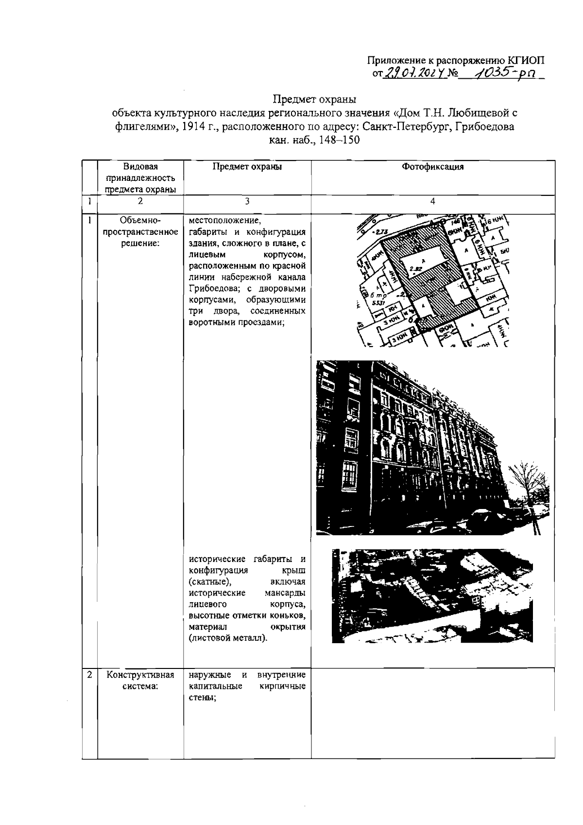
"Об утверждении предмета охраны объекта культурного наследия регионального значения "Дом Т.Н. Любищевой с флигелями"
(Зарегистрирован 30.07.2024 № 48571)
Номер опубликования: 7801202408010002
Дата опубликования: 01.08.2024
Страница №2 из 15:
Увеличить