Официальное опубликование правовых актов
ОФИЦИАЛЬНОЕ ОПУБЛИКОВАНИЕ
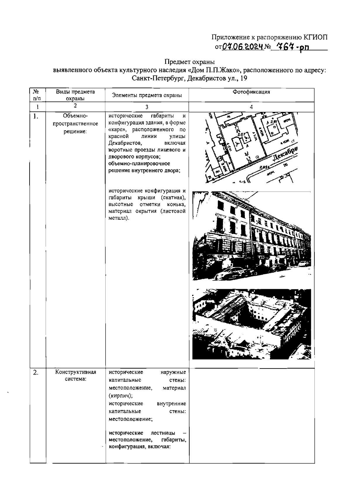
Распоряжение Комитета по государственному контролю, использованию и охране памятников истории и культуры Санкт-Петербурга от 07.06.2024 № 767-рп
"Об утверждении предмета охраны выявленного объекта культурного наследия "Дом П.П.Жако"
(Зарегистрирован 10.06.2024 № 48084)
Номер опубликования: 7801202406170003
Дата опубликования: 17.06.2024
Страница №2 из 5:
Увеличить