Официальное опубликование правовых актов
ОФИЦИАЛЬНОЕ ОПУБЛИКОВАНИЕ
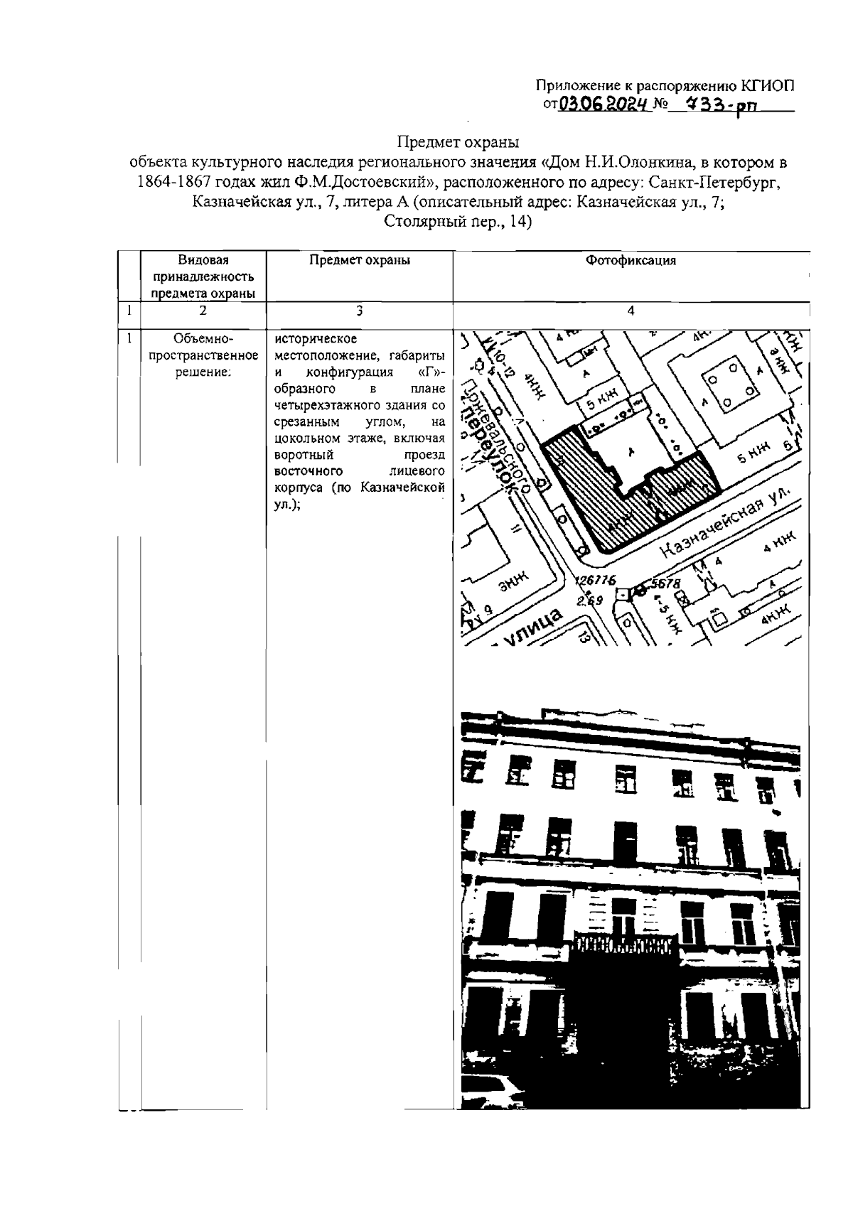
Распоряжение Комитета по государственному контролю, использованию и охране памятников истории и культуры Санкт-Петербурга от 03.06.2024 № 733-рп
"Об утверждении предмета охраны объекта культурного наследия регионального значения "Дом Н.И.Олонкина, в котором в 1864-1867 годах жил Ф.М.Достоевский"
(Зарегистрирован 04.06.2024 № 48014)
Номер опубликования: 7801202406100006
Дата опубликования: 10.06.2024
Страница №2 из 9:
Увеличить