Официальное опубликование правовых актов
ОФИЦИАЛЬНОЕ ОПУБЛИКОВАНИЕ
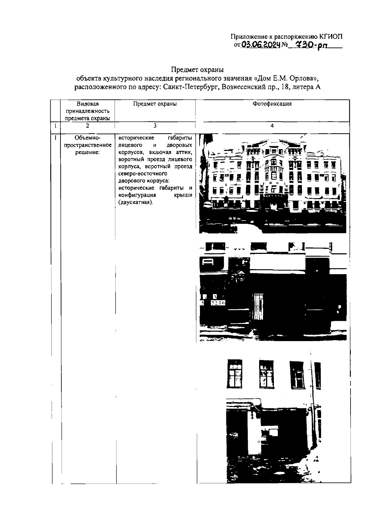
Распоряжение Комитета по государственному контролю, использованию и охране памятников истории и культуры Санкт-Петербурга от 03.06.2024 № 730-рп
"Об утверждении предмета охраны объекта культурного наследия регионального значения "Дом Е.М. Орлова"
(Зарегистрирован 04.06.2024 № 48011)
Номер опубликования: 7801202406100005
Дата опубликования: 10.06.2024
Страница №2 из 17:
Увеличить