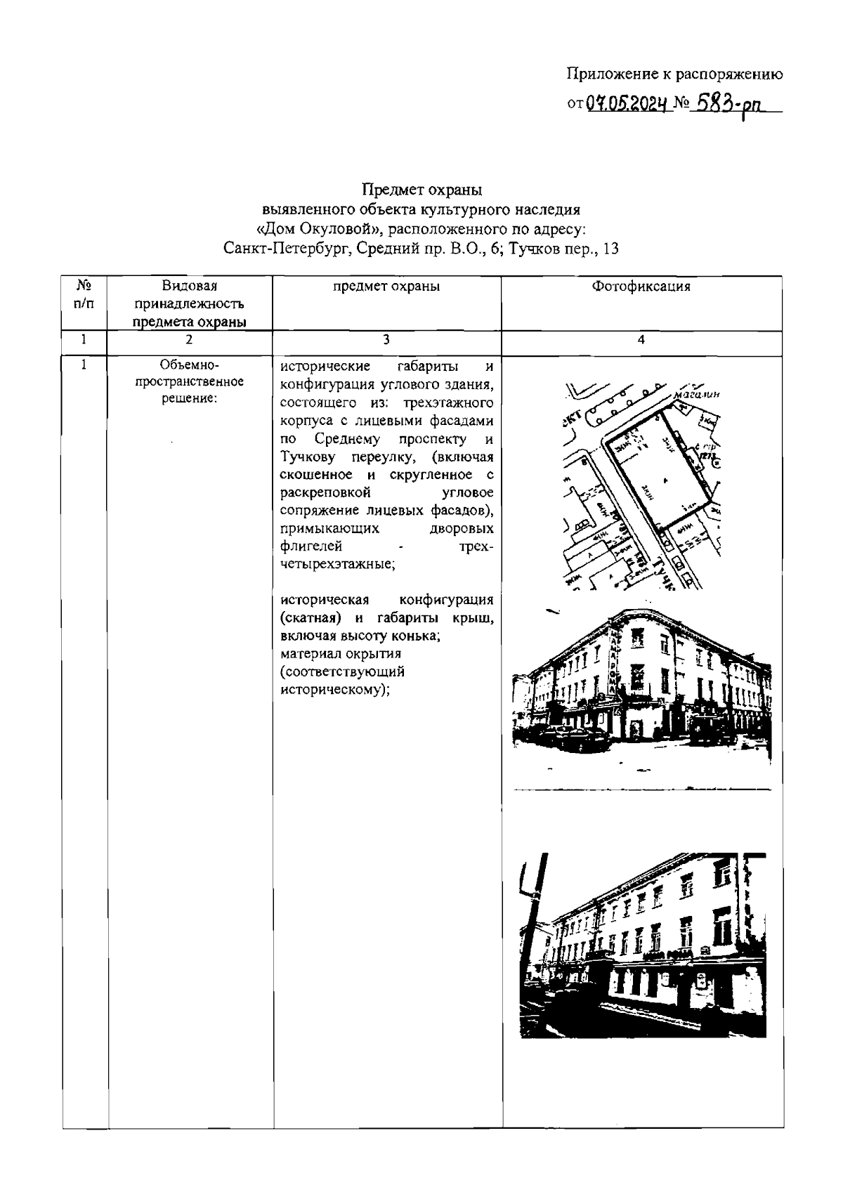
Распоряжение Комитета по государственному контролю, использованию и охране памятников истории и культуры Санкт-Петербурга от 07.05.2024 № 583-рп
"Об утверждении предмета охраны выявленного объекта культурного наследия "Дом Окуловой"
(Зарегистрирован 08.05.2024 № 47750)
"Об утверждении предмета охраны выявленного объекта культурного наследия "Дом Окуловой"
(Зарегистрирован 08.05.2024 № 47750)
Номер опубликования: 7801202405140006
Дата опубликования:
14.05.2024
