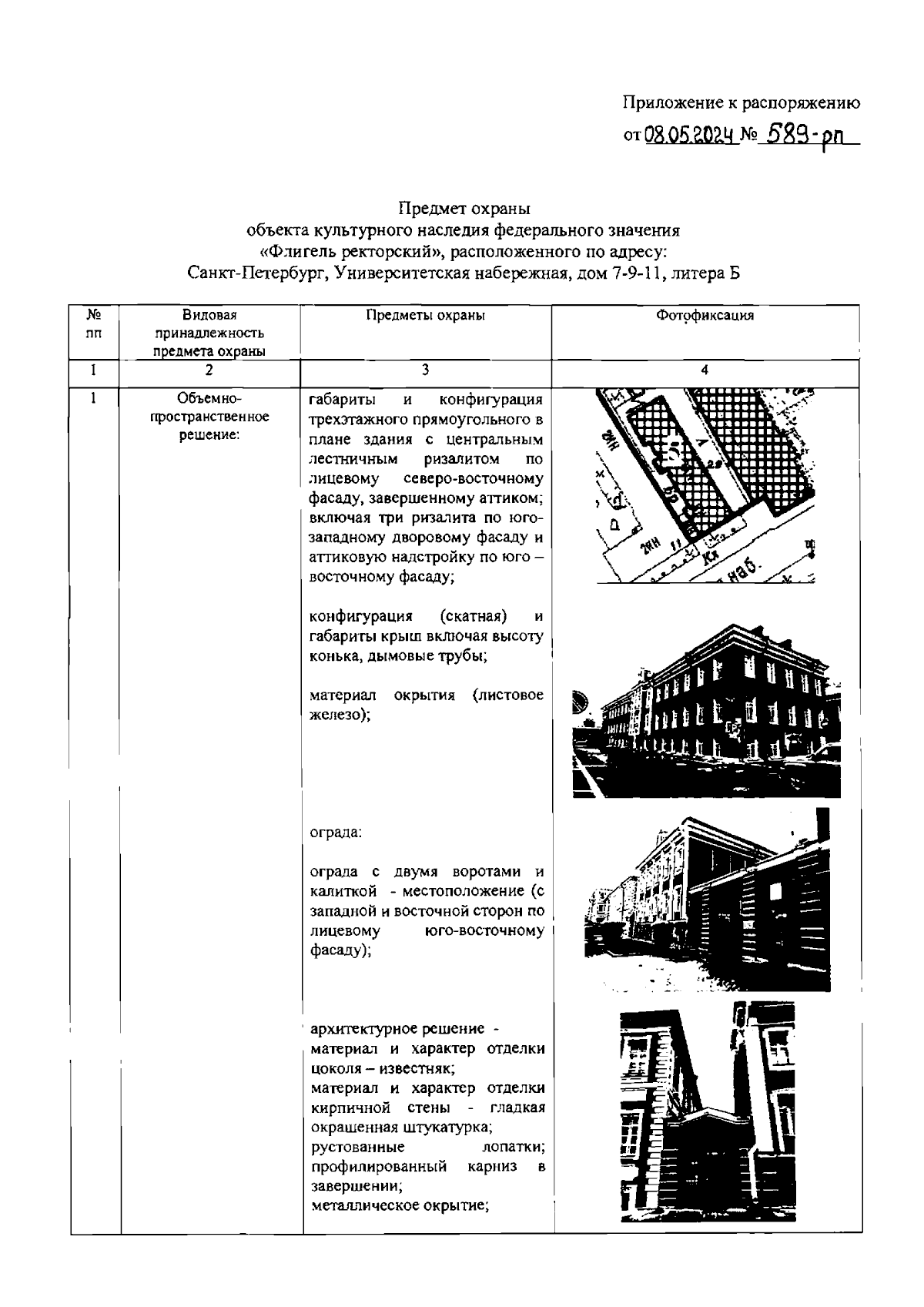
Распоряжение Комитета по государственному контролю, использованию и охране памятников истории и культуры Санкт-Петербурга от 08.05.2024 № 589-рп
"Об утверждении предмета охраны объекта культурного наследия федерального значения "Флигель ректорский"
(Зарегистрирован 08.05.2024 № 47756)
"Об утверждении предмета охраны объекта культурного наследия федерального значения "Флигель ректорский"
(Зарегистрирован 08.05.2024 № 47756)
Номер опубликования: 7801202405130003
Дата опубликования:
13.05.2024
