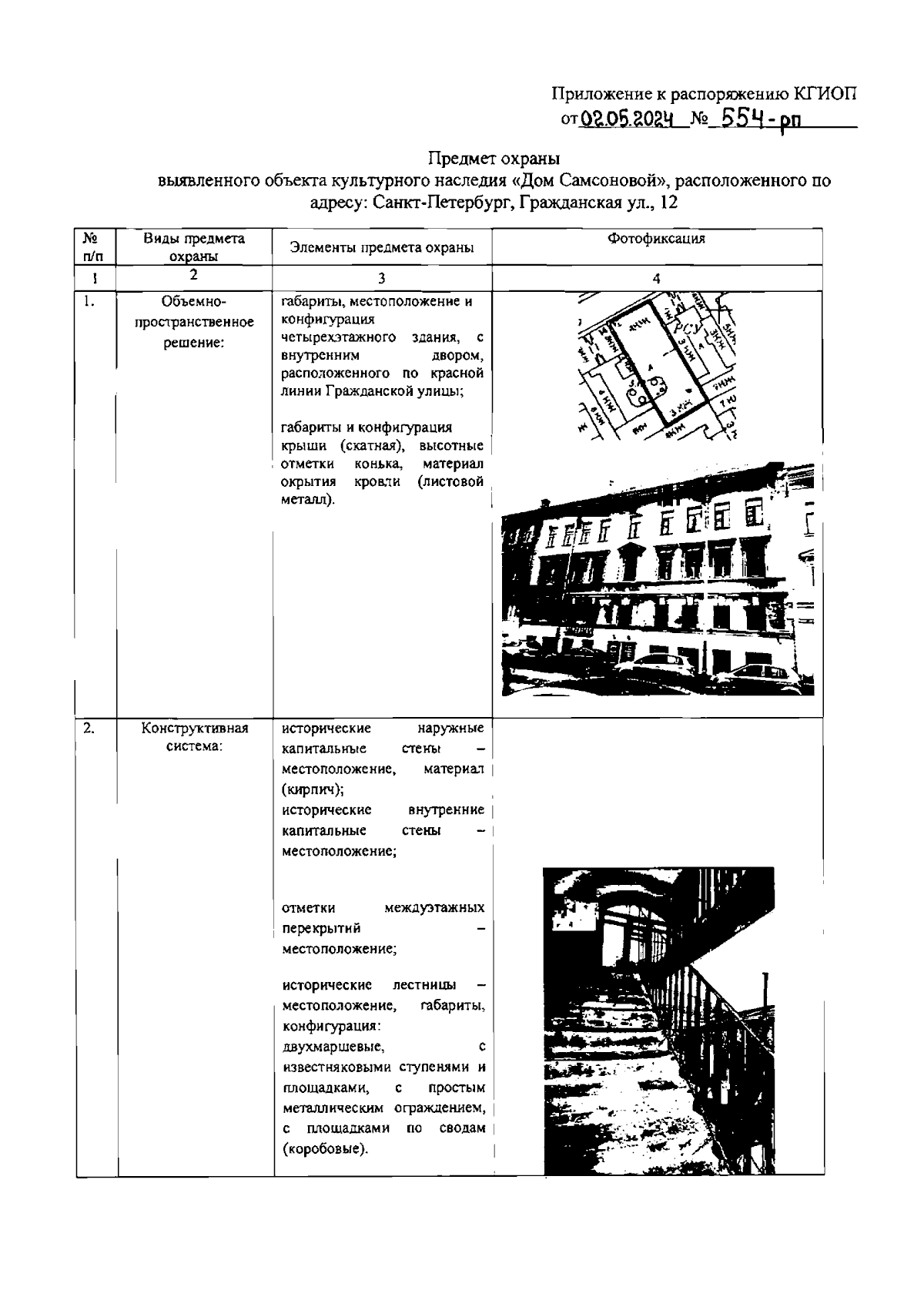
Распоряжение Комитета по государственному контролю, использованию и охране памятников истории и культуры Санкт-Петербурга от 02.05.2024 № 554-рп
"Об утверждении предмета охраны выявленного объекта культурного наследия "Дом Самсоновой"
(Зарегистрирован 07.05.2024 № 47700)
"Об утверждении предмета охраны выявленного объекта культурного наследия "Дом Самсоновой"
(Зарегистрирован 07.05.2024 № 47700)
Номер опубликования: 7801202405080004
Дата опубликования:
08.05.2024
