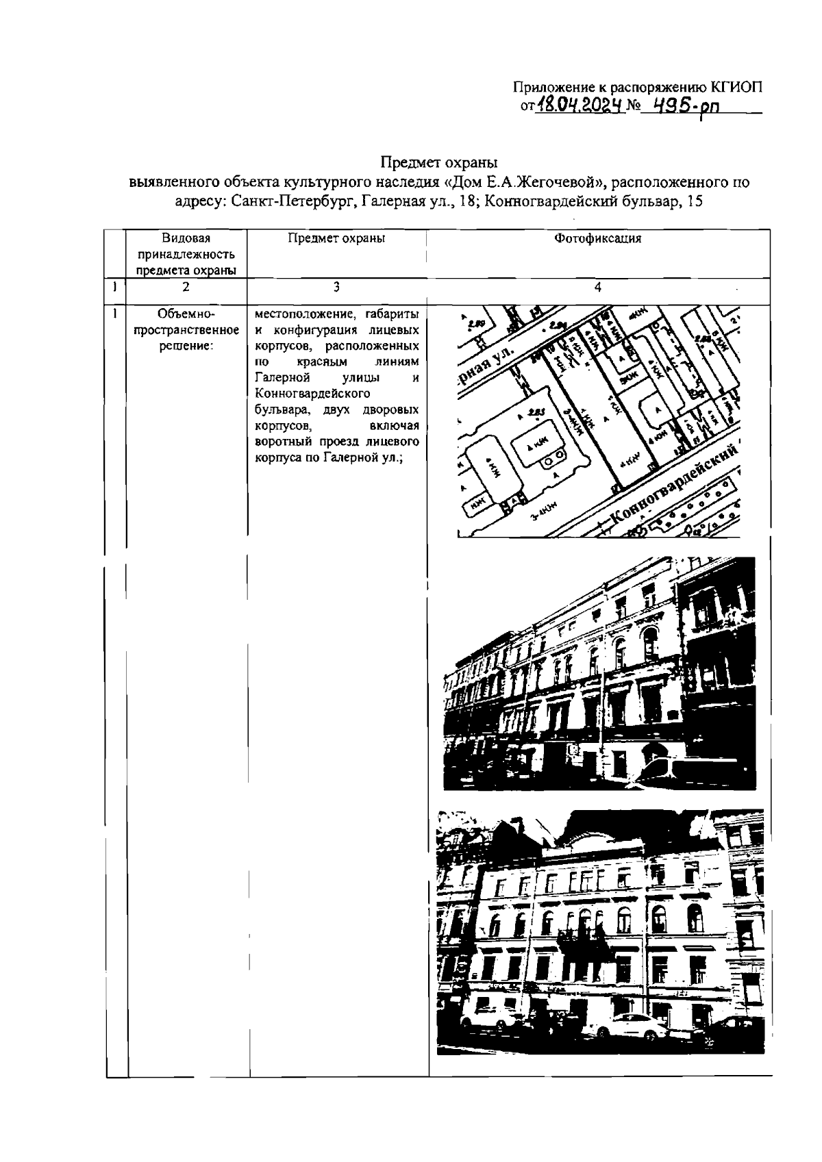
Распоряжение Комитета по государственному контролю, использованию и охране памятников истории и культуры Санкт-Петербурга от 18.04.2024 № 495-рп
"Об утверждении предмета охраны выявленного объекта культурного наследия "Дом Е.А.Жегочевой"
(Зарегистрирован 19.04.2024 № 47584)
"Об утверждении предмета охраны выявленного объекта культурного наследия "Дом Е.А.Жегочевой"
(Зарегистрирован 19.04.2024 № 47584)
Номер опубликования: 7801202404240007
Дата опубликования:
24.04.2024
