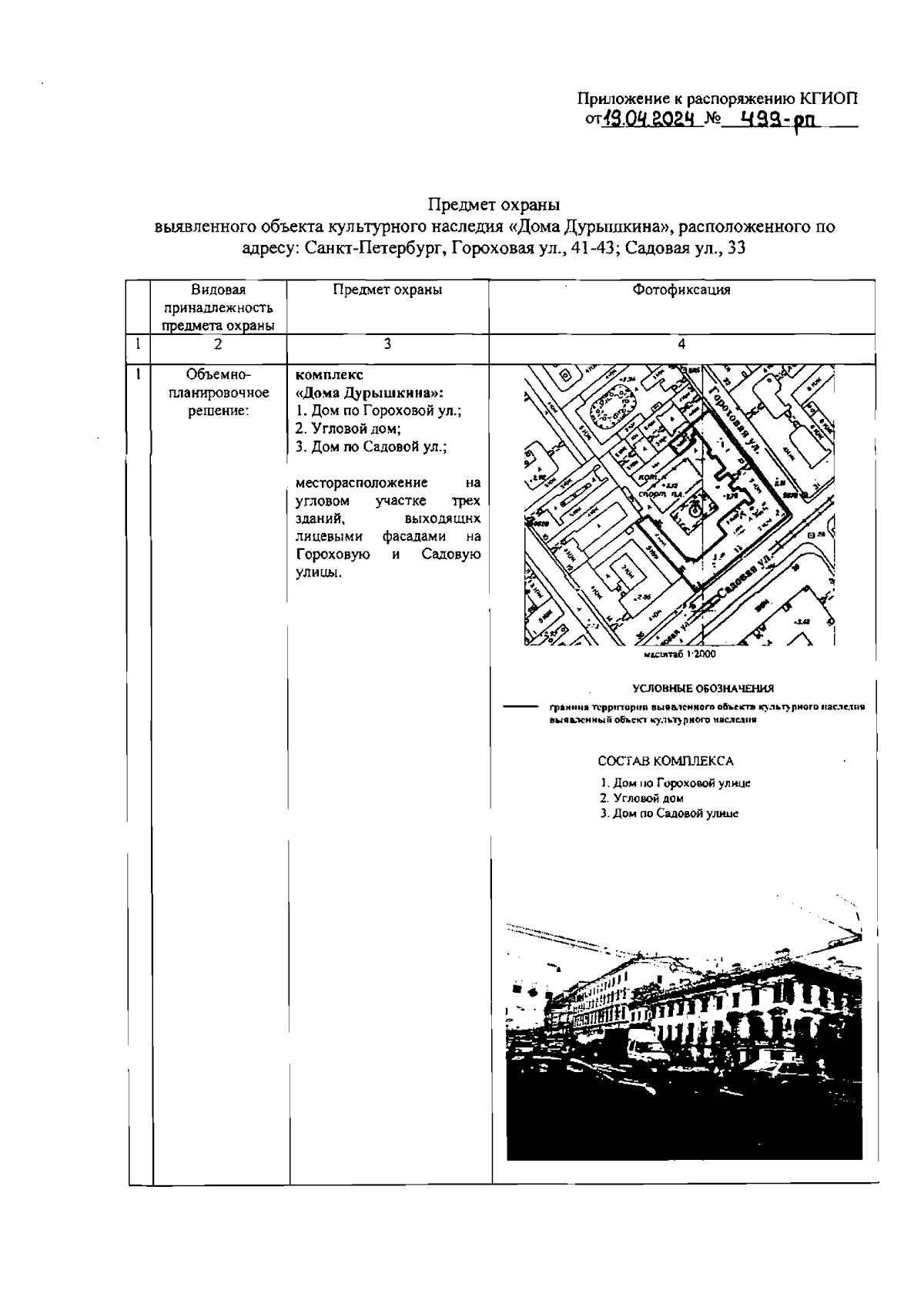
Распоряжение Комитета по государственному контролю, использованию и охране памятников истории и культуры Санкт-Петербурга от 19.04.2024 № 499-рп
"Об утверждении предмета охраны выявленного объекта культурного наследия "Дома Дурышкина"
(Зарегистрирован 19.04.2024 № 47588)
"Об утверждении предмета охраны выявленного объекта культурного наследия "Дома Дурышкина"
(Зарегистрирован 19.04.2024 № 47588)
Номер опубликования: 7801202404240006
Дата опубликования:
24.04.2024
