Официальное опубликование правовых актов
ОФИЦИАЛЬНОЕ ОПУБЛИКОВАНИЕ
Распоряжение Комитета по государственному контролю, использованию и охране памятников истории и культуры Санкт-Петербурга от 26.01.2024 № 134-рп
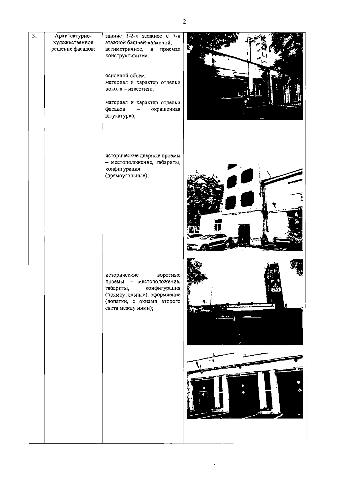
"Об утверждении предмета охраны объекта культурного наследия регионального значения "Пожарное депо"
(Зарегистрирован 26.01.2024 № 36888)
Номер опубликования: 7801202401290015
Дата опубликования: 29.01.2024
Страница №3 из 4:
Увеличить