Официальное опубликование правовых актов
ОФИЦИАЛЬНОЕ ОПУБЛИКОВАНИЕ
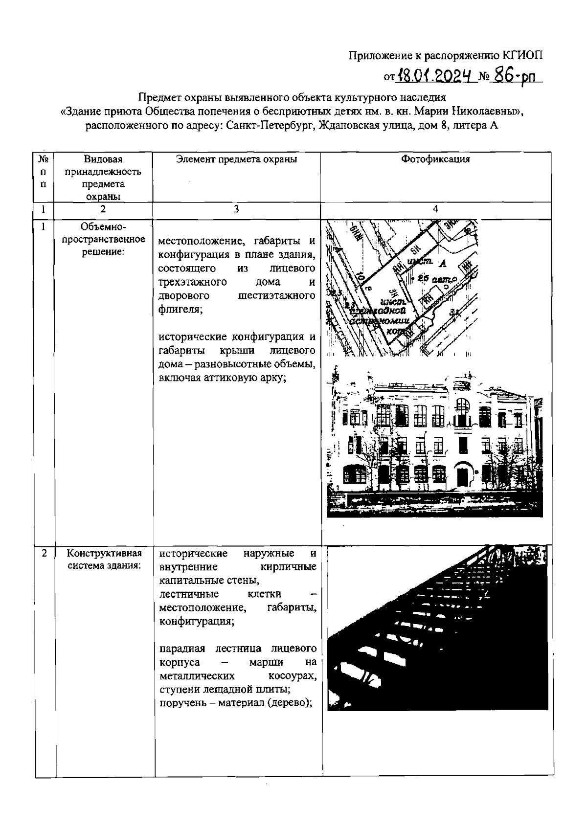
Распоряжение Комитета по государственному контролю, использованию и охране памятников истории и культуры Санкт-Петербурга от 18.01.2024 № 86-рп
"Об утверждении предмета охраны выявленного объекта культурного наследия "Здание приюта Общества попечения о бесприютных детях им. в. кн. Марии Николаевны"
(Зарегистрирован 18.01.2024 № 36820)
Номер опубликования: 7801202401220001
Дата опубликования: 22.01.2024
Страница №2 из 7:
Увеличить