Официальное опубликование правовых актов
ОФИЦИАЛЬНОЕ ОПУБЛИКОВАНИЕ
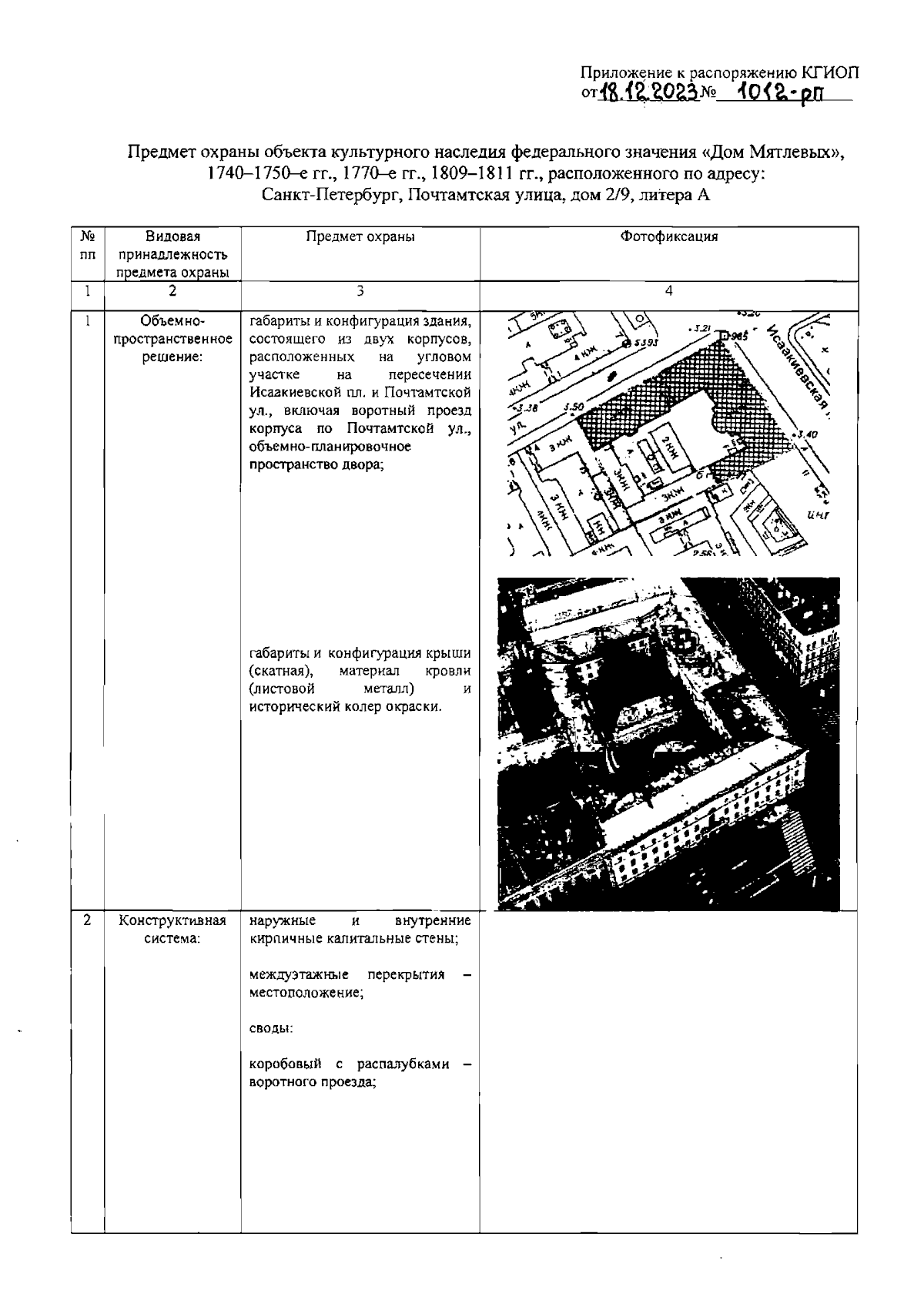
Распоряжение Комитета по государственному контролю, использованию и охране памятников истории и культуры Санкт-Петербурга от 18.12.2023 № 1012-рп
"Об утверждении предмета охраны объекта культурного наследия федерального значения "Дом Мятлевых"
(Зарегистрирован 19.12.2023 № 36520)
Номер опубликования: 7801202312210004
Дата опубликования: 21.12.2023
Страница №2 из 35:
Увеличить