Распоряжение Комитета по государственному контролю, использованию и охране памятников истории и культуры Санкт-Петербурга от 18.12.2023 № 1009-рп
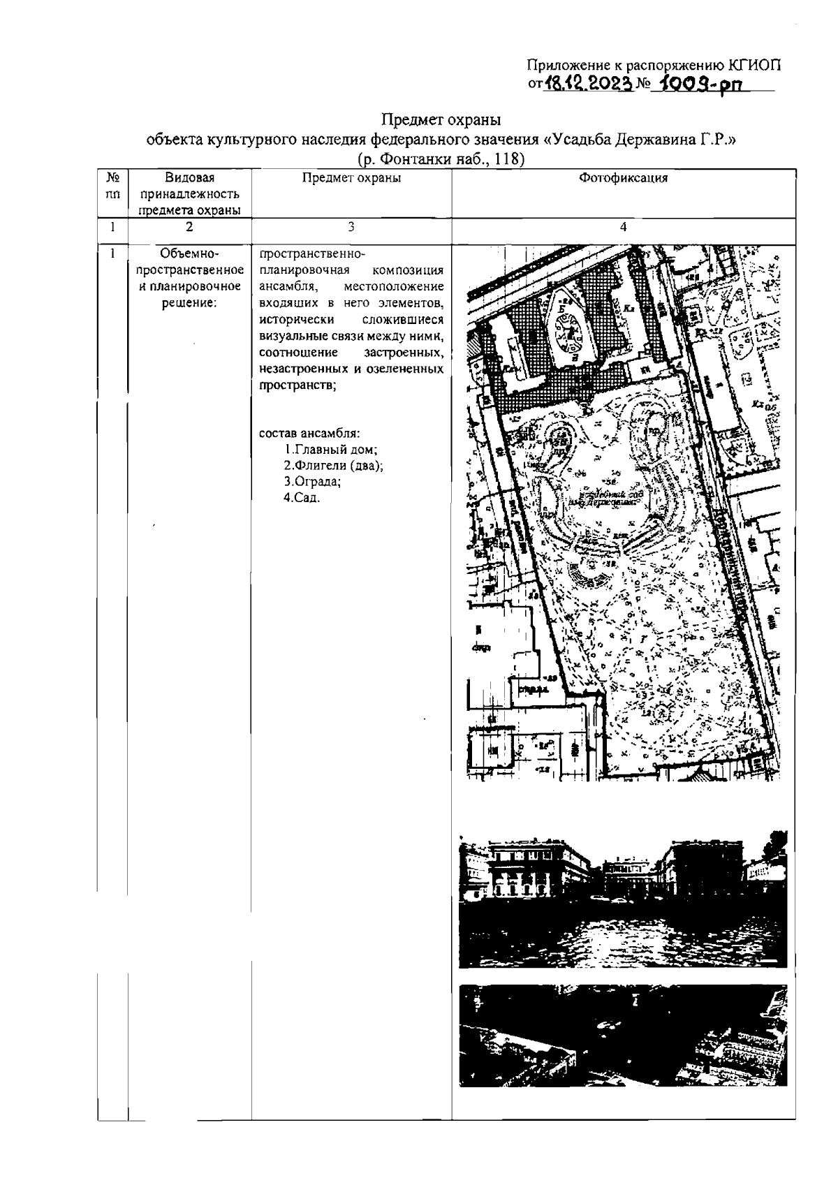
"Об утверждении предмета охраны объекта культурного наследия федерального значения "Усадьба Державина Г.Р."
(Зарегистрирован 19.12.2023 № 36517)
"Об утверждении предмета охраны объекта культурного наследия федерального значения "Усадьба Державина Г.Р."
(Зарегистрирован 19.12.2023 № 36517)
Номер опубликования: 7801202312210001
Дата опубликования:
21.12.2023
