Официальное опубликование правовых актов
ОФИЦИАЛЬНОЕ ОПУБЛИКОВАНИЕ
Распоряжение Комитета по государственному контролю, использованию и охране памятников истории и культуры Санкт-Петербурга от 04.12.2023 № 872-рп
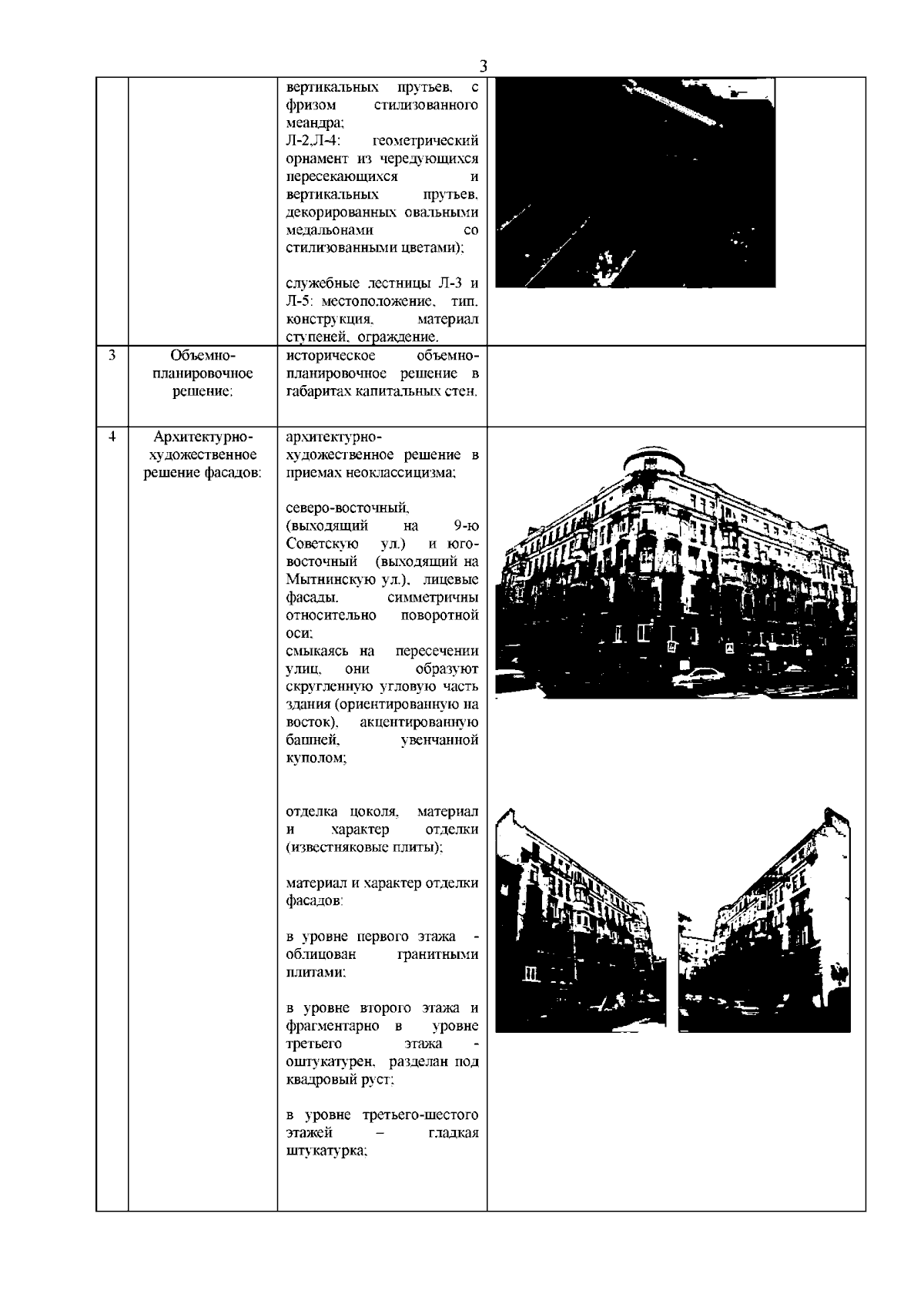
"Об утверждении предмета охраны объекта культурного наследия регионального значения "Дом, где в 1912-1913 гг. проходили заседания объединенной социал-демократической фракции IV Государственной думы"
(Зарегистрирован 04.12.2023 № 36306)
Номер опубликования: 7801202312080008
Дата опубликования: 08.12.2023
Страница №4 из 12:
Увеличить