Официальное опубликование правовых актов
ОФИЦИАЛЬНОЕ ОПУБЛИКОВАНИЕ
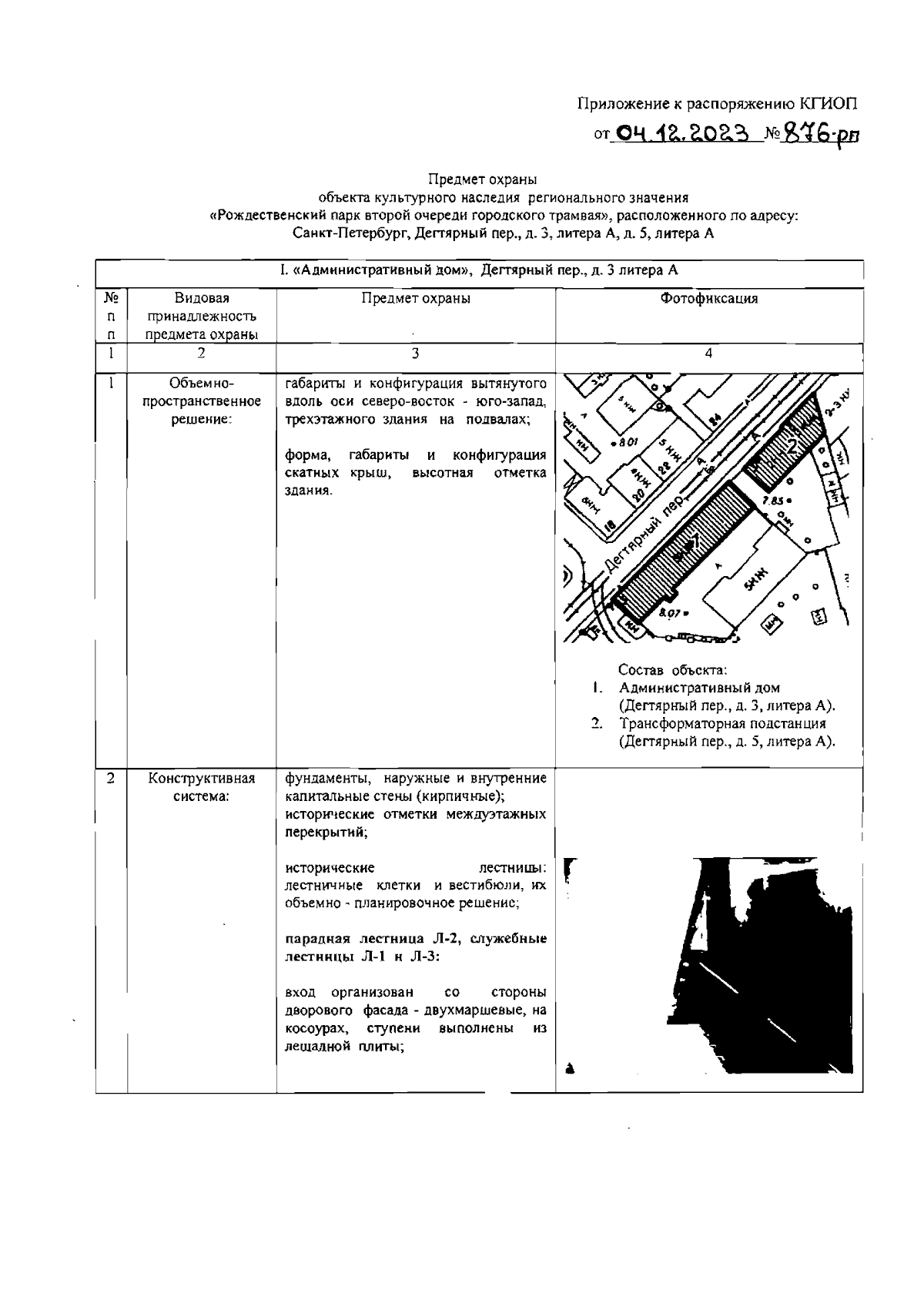
Распоряжение Комитета по государственному контролю, использованию и охране памятников истории и культуры Санкт-Петербурга от 04.12.2023 № 876-рп
"Об утверждении предмета охраны объекта культурного наследия регионального значения "Рождественский парк второй очереди городского трамвая"
(Зарегистрирован 04.12.2023 № 36310)
Номер опубликования: 7801202312070037
Дата опубликования: 07.12.2023
Страница №2 из 11:
Увеличить