Официальное опубликование правовых актов
ОФИЦИАЛЬНОЕ ОПУБЛИКОВАНИЕ
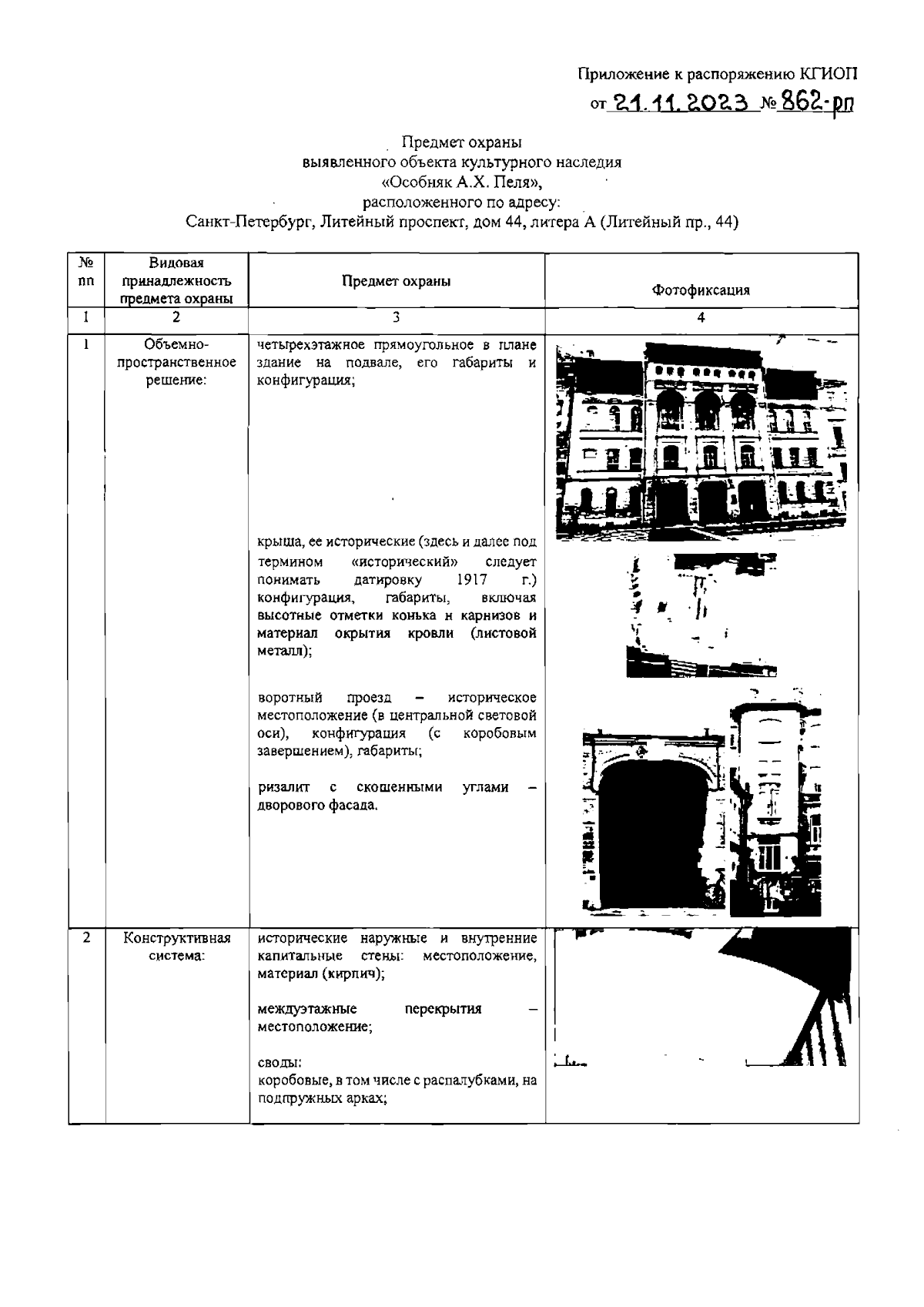
Распоряжение Комитета по государственному контролю, использованию и охране памятников истории и культуры Санкт-Петербурга от 21.11.2023 № 862-рп
"Об утверждении предмета охраны выявленного объекта культурного наследия "Особняк А.Х. Пеля"
(Зарегистрирован 23.11.2023 № 36219)
Номер опубликования: 7801202311270002
Дата опубликования: 27.11.2023
Страница №2 из 10:
Увеличить